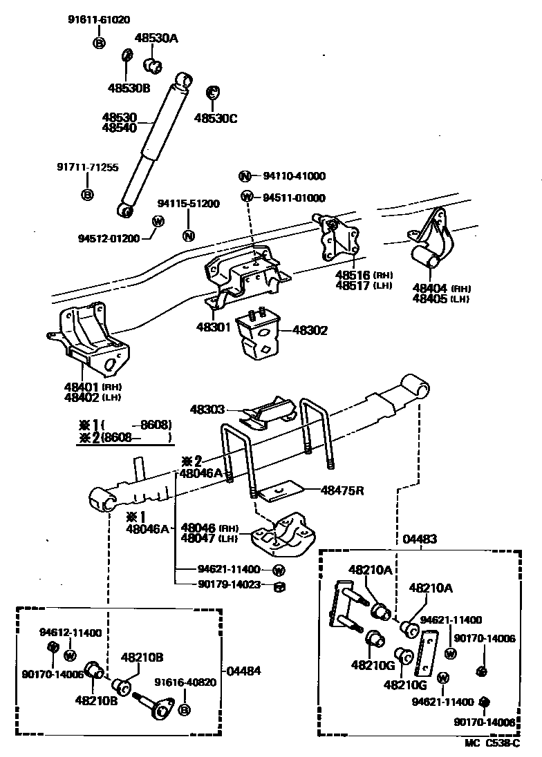
REAR SPRING & SHOCK ABSORBER

04483SHACKLE KIT, REAR SPRING
04484PIN KIT, REAR SPRING
sub04482-25020
48046ABOLT, U(FOR REAR SPRING)
sub90117-14014
sub90117-14035
sub90117-14035
sub90117-14009
sub90117-14014
sub90117-16031
48210SPRING ASSY, REAR RH
48210ABUSH(FOR REAR SPRING SHACKLE UPPER)
48210BBUSH(FOR REAR SPRING PIN)
48210GBUSH(FOR REAR SPRING SHACKLE LOWER)
48301BRACKET SUB-ASSY, HOLLOW SPRING
RH
LH
48303SEAT SUB-ASSY, HOLLOW SPRING
48401BRACKET SUB-ASSY, REAR SPRING, FRONT RH
48402BRACKET SUB-ASSY, REAR SPRING, FRONT LH
48475RPLATE, DISTANCE(FOR REAR)
48530ABUSH(FOR REAR SHOCK ABSORBER)
48530BWASHER, REAR SHOCK ABSORBER CUSHION, NO.1
48530CWASHER, REAR SHOCK ABSORBER CUSHION, NO.2
9017014006
main90170-14006
9017914023
main90179-14023
9161161020
main91611-61020
9161640820
main91616-40820
9171171255
main91711-71255
9411041000
main94110-41000
9411551200
main94115-51200
9451101000
main94511-01000
9451201200
main94512-01200
9461211400
main94612-11400
9462111400
main94621-11400
35 parts on this diagram · 6 diagrams in section