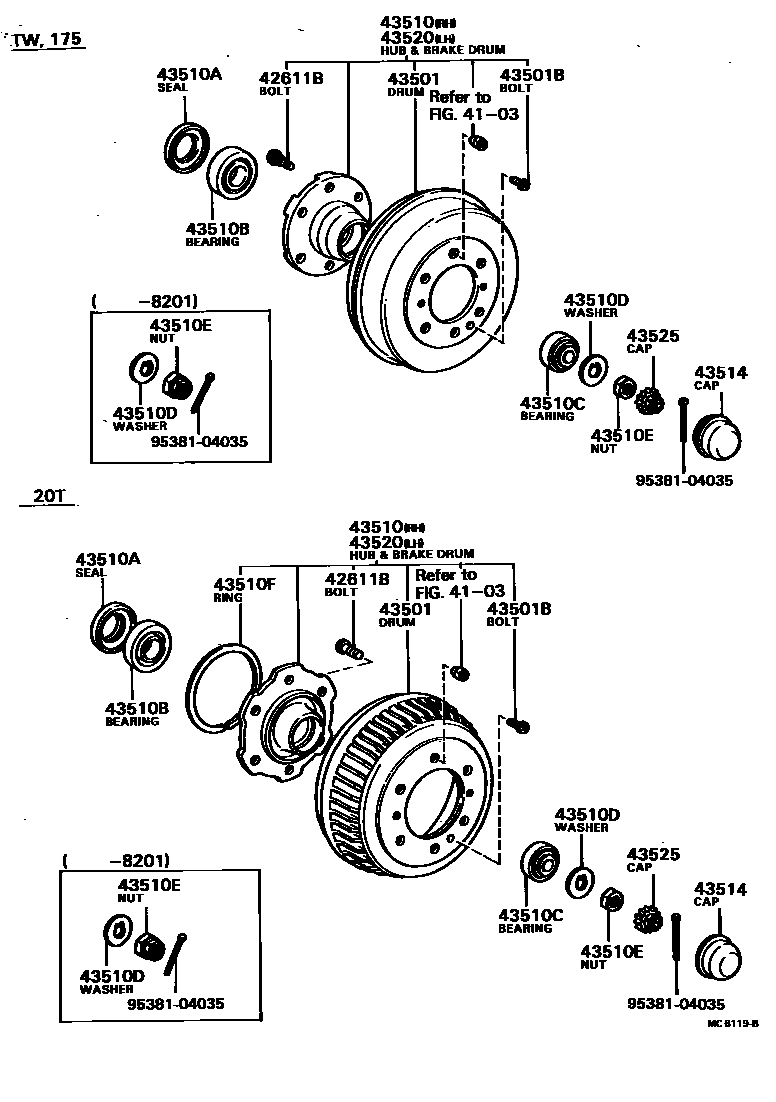
FRONT AXLE HUB

4103
42611BBOLT, HUB (FOR FRONT AXLE)
RH
LH
RH
LH
RH
LH
43501DRUM SUB-ASSY, FRONT BRAKE
43501BBOLT, SET (FOR FRONT BRAKE DRUM SETTING)
43510HUB AND BRAKE DRUM ASSY, FRONT AXLE, RH
43510ASEAL, OIL (FOR FRONT AXLE HUB)
43510BBEARING, TAPERED ROLLER (FOR FRONT AXLE INNER BEARING)
43510DWASHER, CLAW (FOR STEERING KNUCKLE WASHER)
43510ENUT (FOR STEERING KNUCKLE)
43510FRING, SHAFT SNAP (FOR FRONT AXLE HUB)
43514CAP, FRONT HUB GREASE
43520HUB AND BRAKE DRUM ASSY, FRONT AXLE, LH
43525CAP, FRONT WHEEL ADJUSTING LOCK
9538104035
main95381-04035
15 parts on this diagram · 3 diagrams in section