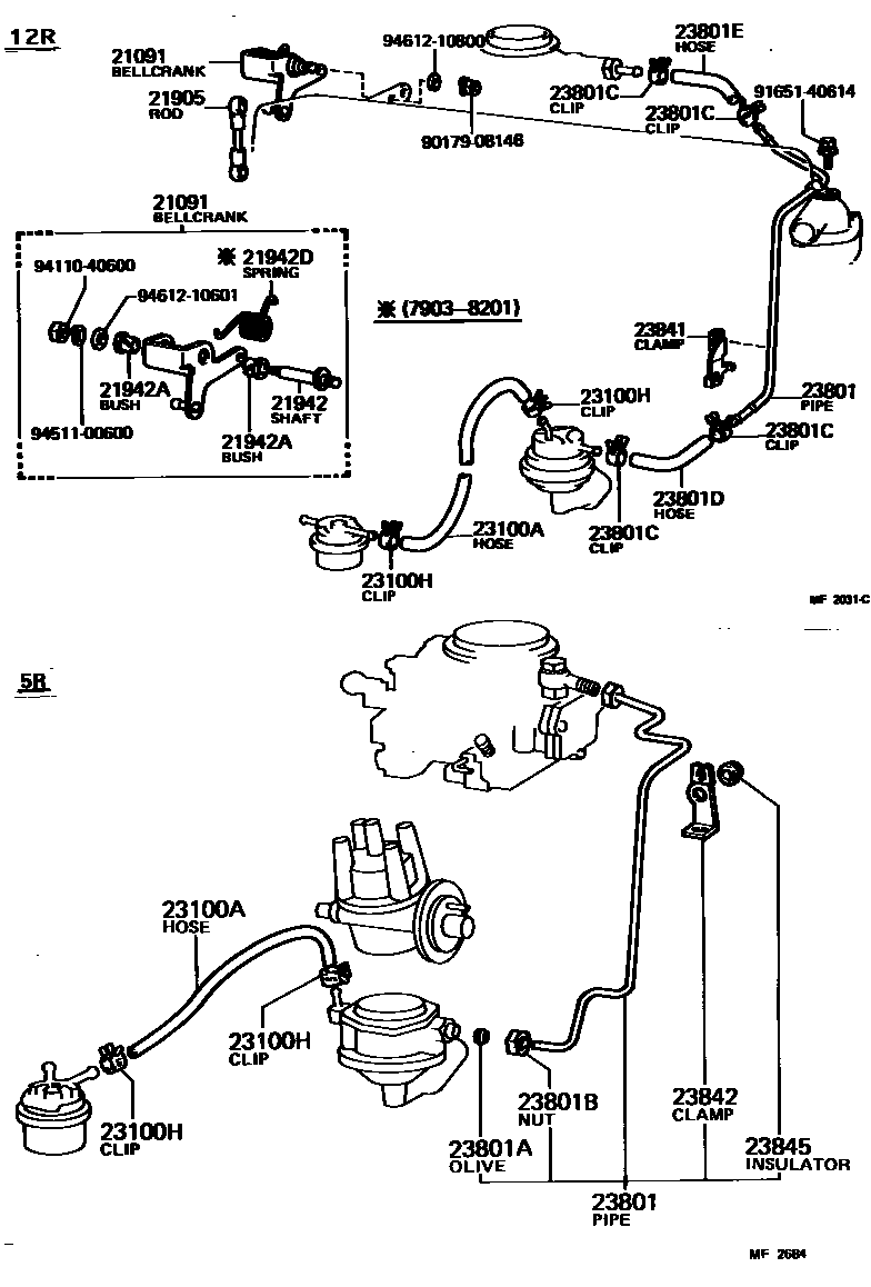
FUEL PIPE & CLAMP

21091BELLCRANK SUB-ASSY, ACCELERATOR
21905ROD SUB-ASSY, ACCELERATOR CONNECTING
21942SHAFT, ACCELERATOR LINK
21942ABUSH(FOR ACCELERATOR LINK SHAFT)
21942DSPRING(FOR ACCELERATOR LINK SHAFT)
23100AHOSE, FUEL
23100HCLIP(FOR FUEL HOSE)
sub96132-51100
23801AOLIVE(FOR FUEL PIPE)
23801BNUT, UNION(FOR FUEL PIPE)
23801CCLIP(FOR CARBURETOR FUEL HOSE)
sub96132-51100
23801DHOSE, FUEL PIPE, NO.1
sub95333-06010
23801EHOSE, FUEL PIPE, NO.2
23841CLAMP, FUEL PIPE(HOSE), NO.1
23842CLAMP, FUEL PIPE(HOSE), NO.2
23845INSULATOR, FUEL PIPE
9017908146
main90179-08146
9165140614
main91651-40614
9411040600
main94110-40600
9451100600
main94511-00600
9461210601
main94612-10601
9461210800
main94612-10800
22 parts on this diagram · 1 diagram in section