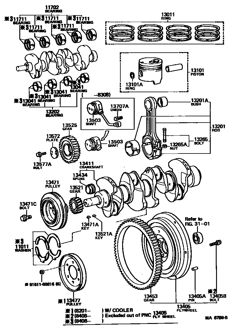
CRANKSHAFT & PISTON

11011WASHER SET, CRANKSHAFT THRUST
STD
STD
sub11011-54020
sub11011-56020
sub11011-58020
O/S 0.125
O/S 0.125
sub11012-54020
sub11012-56020
sub11012-58020
O/S 0.250
sub11013-35021
O/S 0.250
sub11013-54020
sub11013-56020
sub11013-58020
11702BEARING SET, CRANKSHAFT
STD
STD
STD
STD
U/S 0.05
U/S 0.05
U/S 0.05
U/S 0.05
U/S 0.25
U/S 0.25
U/S 0.25
U/S 0.25
sub11704-54061
U/S 0.50
U/S 0.50
U/S 0.50
U/S 0.50
sub11705-54061
U/S 0.75
U/S 1.00
11711BEARING, CRANKSHAFT
MARK"1",MARK 1
MARK"2",MARK 2
13011RING SET, PISTON
STD
STD
STD,LPG PACKAGE
STD
STD
sub13011-54061
STD
O/S 0.50
O/S 0.50
O/S 0.50
O/S 0.75
O/S 0.75
O/S 1.00
O/S 1.00
O/S 1.00
O/S 1.00
13041BEARING, CONNECTING ROD
MARK"1",MARK 1
MARK"2",MARK 2
13101PISTON SUB-ASSY, W/PIN
STD
O/S 1.00
STD
STD
STD
STD
STD
STD
O/S 0.50
O/S 0.50
O/S 0.50
O/S 0.50
O/S 0.50
O/S 0.75
O/S 0.75
O/S 1.00
O/S 1.00
O/S 1.00
13101ARING, HOLE SNAP(FOR PISTON PIN)
13202BEARING SET, CONNECTING ROD
STD
STD
STD
STD
STD
U/S 0.05
U/S 0.05
U/S 0.05
U/S 0.05
U/S 0.25
U/S 0.25
U/S 0.25
U/S 0.25
sub13204-54024
U/S 0.25
U/S 0.50
U/S 0.50
U/S 0.50
U/S 0.50
sub13205-54024
U/S 0.50
U/S 0.75
U/S 1.00
U/S 1.00
13405FLYWHEEL SUB-ASSY
N=105
N=115
N=105
N=110
13405APIN, STRAIGHT(FOR FLYWHEEL)
13405BBOLT, FLYWHEEL SETTING
13434SPLINE, OIL PUMP DRIVE
13453GEAR, FLYWHEEL RING
N=115
N=125
N=105
N=105
N=101
13471PULLEY, CRANKSHAFT
LPG PACKAGE
ALTERNATOR(12V 55A)OR(24V 25A)
sub13470-56101
sub13470-56170
W/COOLER
W/COOLER
13477PULLEY, CRANKSHAFT, NO.2
W/COOLER
W/COOLER
W/COOLER
13521GEAR OR SPROCKET, CRANKSHAFT TIMING
N=25
N=18
N=25
N=22
13525GEAR, IDLE, NO.1
N=24
N=35
13707AUNION(FOR OIL PIPE, NO.1)
3101
9161160816
main91611-60816
31 parts on this diagram · 5 diagrams in section