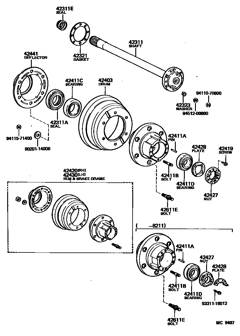
REAR AXLE SHAFT & HUB

42311ASEAL, OIL(FOR REAR AXLE SHAFT)
42311ESEAL, OIL(FOR REAR AXLE SHAFT OUTER)
42321GASKET, REAR AXLE SHAFT
42323WASHER, CONE (FOR REAR AXLE SHAFT)
42403DRUM SUB-ASSY, REAR BRAKE
42411APIN, STRAIGHT (FOR REAR AXLE HUB)
42411BBOLT, STUD (FOR REAR AXLE HUB)
42411CBEARING, TAPERED ROLLER (FOR REAR AXLE INNER BEARING)
42411DBEARING, TAPERED ROLLER (FOR REAR AXLE OUTER BEARING)
42419SCREW, REAR AXLE BEARING LOCK NUT
42427NUT, REAR AXLE BEARING LOCK
42428PLATE, REAR AXLE LOCK NUT
42441DEFLECTOR, BRAKE DRUM OIL
42611EBOLT, HUB (FOR REAR AXLE)
9020114006
main90201-14006
9331116012
main93311-16012
9411070800
main94110-70800
9411571400
main94115-71400
9451200800
main94512-00800
22 parts on this diagram · 1 diagram in section