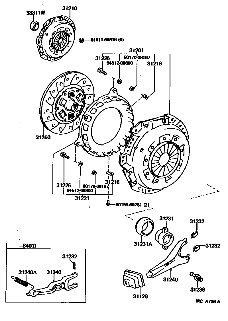
CLUTCH & RELEASE FORK

31201COVER SUB-ASSY, CLUTCH
sub31201-26010
31210COVER ASSY, CLUTCH
sub31210-36200
31216SPRING, CLUTCH RETRACTING
31221PLATE, CLUTCH PRESSURE
sub31221-36025
31226BOLT, CLUTCH PRESSURE PLATE
31231ABEARING, BALL(FOR CLUTCH RELEASE HUB)
31232CLIP OR SPRING, RELEASE BEARING HUB
31240ASPRING, TENSION(FOR CLUTCH RELEASE FORK RETURN)
33311WBEARING (FOR INPUT SHAFT)
sub90363-12024
9015960261
main90159-60261
9017008197
main90170-08197
9161160816
main91611-60816
9451200800
main94512-00800
18 parts on this diagram · 1 diagram in section