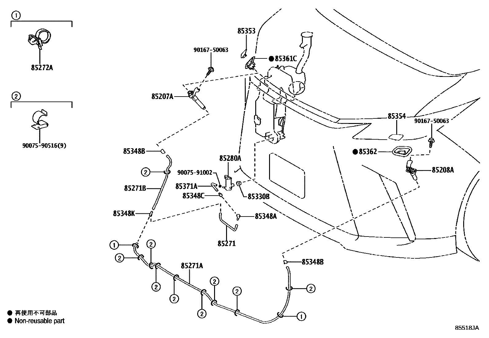
HEADLAMP CLEANER

85207AACTUATOR SUB-ASSY, HEADLAMP WASHER, RH
85208AACTUATOR SUB-ASSY, HEADLAMP WASHER, LH
85271HOSE, HEADLAMP CLEANER, NO.1
85271AHOSE, HEADLAMP CLEANER, NO.2
85271BHOSE, HEADLAMP CLEANER, NO.3
85272ACLAMP, HEADLAMP CLEANER, NO.1
85280AMOTOR AND PUMP ASSY, HEADLAMP CLEANER
85330BBUSH, HEADLAMP CLEANER WASHER JAR
85348AJOINT, HEADLAMP CLEANER HOSE, NO.1
85348BJOINT, HEADLAMP CLEANER HOSE, NO.2
85348CJOINT, HEADLAMP CLEANER HOSE, NO.3
85348KJOINT, HEADLAMP CLEANER ELBOW, NO.1
85353COVER, HEADLAMP WASHER, RH
SONIC QUARTZ,085
SONIC TITANIUM,1J7
GRAPHITE BLACK GF.,223
SONIC AGATE,3U3
85354COVER, HEADLAMP WASHER, LH
SONIC QUARTZ,085
SONIC TITANIUM,1J7
GRAPHITE BLACK GF.,223
SONIC AGATE,3U3
85361CBRACKET, WASHER
85362BRACKET, WASHER, NO.2
85371AHOSE, HEADLAMP CLEANER(FROM MOTOR TO JOINT)
9007590516
main90075-90516
9007591002
main90075-91002
9016750063
main90167-50063
20 parts on this diagram · 1 diagram in section