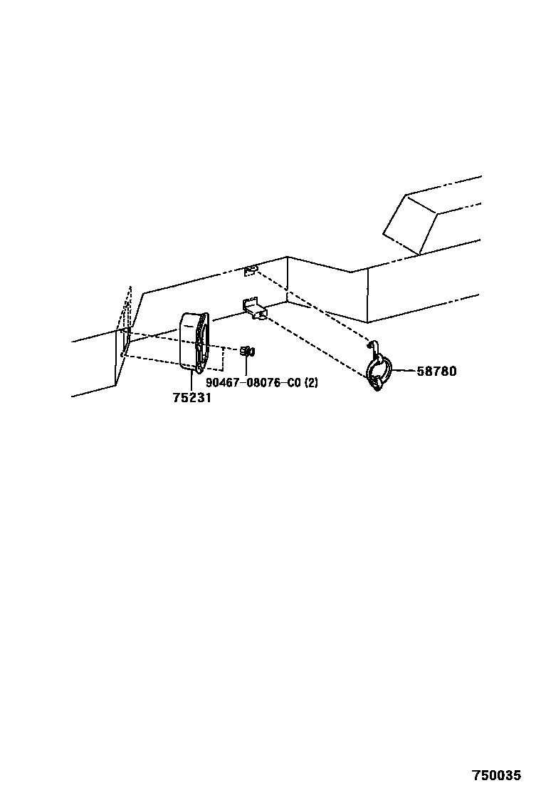
TOOL BOX & LICENSE PLATE BRACKET
58780BAND ASSY, TOOL BOX
main58780-95J01iKZH10#,11#,12#,13#,LH10#,11#,12#,140,16#,17#,18#,RZH10#,11#,12#,133198908-199907 75231BOX, TOOL BAG
main75231-95J00iKZH10#,11#,12#,13#,LH10#,11#,12#,140,16#,17#,18#,RZH10#,11#,12#,133198908-199907 3 parts on this diagram · 1 diagram in section
TOOL BOX & LICENSE PLATE BRACKET — Toyota Parts Diagram with OEM Numbers & Prices | EPC Data