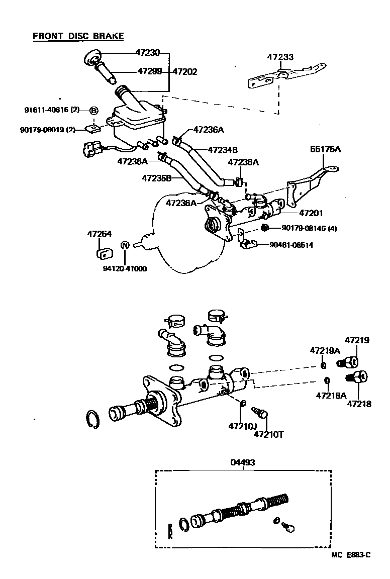
04493CYLINDER KIT, BRAKE MASTER
main04493-26140iLH56,YH57;LH66..05S;LH66..(DX,SGL)..08S198708-198908 main04493-26150iLH51,61,71,YH50,51,52,6#,71198708-198908 47201CYLINDER SUB-ASSY, BRAKE MASTER
main47201-26400iLH51,61,71,YH50,51,52,6#,71..COM,V198708-198908 main47201-26440iLH56,YH57;LH66..05S;LH66..(DX,SGL)..08S198708-198908 47202RESERVOIR SUB-ASSY, BRAKE MASTER CYLINDER
main47220-26150iLH66..05S;LH66..(DX,SGL)..08S;LH5#,61,71,YH5#,6#,71..MTM198708-198908 47210JGASKET(FOR MASTER CYLINDER)
main90430-06104iLH66..05S;LH66..(DX,SGL)..08S;LH5#,61,71,YH5#,6#,71198708-198908 47210TBOLT(FOR BRAKE MASTER CYLINDER)
main90109-06008iLH66..05S;LH66..(DX,SGL)..08S;LH5#,61,71,YH5#,6#,71198708-198908 47218PLUG, MASTER CYLINDER FLUID OUTLET
main47218-26050iLH51,61,71,YH50,51,52,6#,71..COM,V198708-198908 47218AGASKET(FOR FLUID OUTLET PLUG)
main90430-05014iLH51,61,71,YH50,51,52,6#,71..COM,V198708-198908 47219PLUG, MASTER CYLINDER FLUID OUTLET(FOR REAR SIDE)
main47218-26050iLH51,61,71,YH50,51,52,6#,71..COM,V198708-198908 47219AGASKET(FOR FLUID OUTLET PLUG REAR SIDE)
main90430-05014iLH51,61,71,YH50,51,52,6#,71..COM,V198708-198908 47230CAP ASSY, BRAKE MASTER CYLINDER RESERVOIR FILLER
main47230-28010iLH66..05S;LH66..(DX,SGL)..08S;LH5#,61,71,YH5#,6#,71198708-198908 47233BRACKET, RESERVOIR
main47233-95J00iLH66..05S;LH66..(DX,SGL)..08S;LH5#,61,71,YH5#,6#,71198708-198908 47234BTUBE, RESERVOIR, NO.1
main47234-26160iLH56,66..05S;LH66..(DX,SGL)..08S;LH51,61,71,YH51,57,61..WG198708-198908 main47234-26190iLH51,61,71,YH50,51,52,6#,71..COM,V198708-198908 47235BTUBE, BRAKE MASTER CYRINDER RESERVOIR, NO.2
main47235-26150iLH56,66..05S;LH66..(DX,SGL)..08S;LH51,61,71,YH51,57,61..WG198708-198908 main90445-17050iLH51,61,71,YH50,51,52,6#,71..COM,V198708-198908 47236ACLIP(FOR RESERVOIR TUBE)
main90467-16002×4iLH66..05S;LH66..(DX,SGL)..08S;LH5#,61,71,YH5#,6#,71198708-198908 47264CLEVIS, MASTER CYLINDER PUSH ROD
main47264-22010iLH66..05S;LH66..(DX,SGL)..08S;LH5#,61,71,YH5#,6#,71198708-198908 47299STRAINER, BRAKE MASTER CYLINDER RESERVOIR
main47299-26020iLH66..05S;LH66..(DX,SGL)..08S;LH5#,61,71,YH5#,6#,71198708-198908 55175ASUPPORT SUB-ASSY, BRAKE MASTER CYLINDER
main55175-95J00iLH51,61,71,YH50,51,52,6#,71..COM,V198708-198908 main55175-95J04iLH56,66..05S;LH66..(DX,SGL)..08S;LH51,61,71,YH51,57,61..WG198708-198908