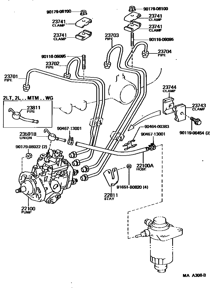
22100PUMP ASSY, INJECTION OR SUPPLY
main22100-54311i2L..LH66..(DX,SGL)..08S;2L..LH5#,6#,71..(COM,V)..MTM..(03S,05S,06S,09S,15S)198708-198908 22100AHOSE OR PIPE, FUEL(FOR INJECTION PUMP TO FUEL FILTER)
main95333-08040i2L..LH56,66..05S;2L..LH66..(DX,SGL)..08S198708-198908 22811STAY, INJECTION PUMP, NO.1
main22811-54040i2L..LH66..05S;2L#..LH5#,61,71;2L..LH66..(DX,SGL)..08S198708-198808 main22811-54041i2L..LH66..05S;2L#..LH5#,61,71;2L..LH66..(DX,SGL)..08S198808-198908 23591BUNION(FOR INJECTION PUNP INLET)
main23591-54010i2L..LH5#,6#,71..(COM,V)..(03S,05S,06S,09S,15S);2L..LH51,66..(4HC,5F)..(CTM,DX,SGL)..(08S,09S)198708-198908 23701PIPE SUB-ASSY, INJECTION, NO.1
main23701-54072i2L..LH66..05S;2L#..LH5#,61,71;2L..LH66..(DX,SGL)..08S198903-198908 main23701-54082i2L..LH66..05S;2L#..LH5#,61,71;2L..LH66..(DX,SGL)..08S198708-198903 23702PIPE SUB-ASSY, INJECTION, NO.2
main23702-54071i2L..LH66..05S;2L#..LH5#,61,71;2L..LH66..(DX,SGL)..08S198903-198908 main23702-54081i2L..LH66..05S;2L#..LH5#,61,71;2L..LH66..(DX,SGL)..08S198708-198903 23703PIPE SUB-ASSY, INJECTION, NO.3
main23703-54050i2L..LH66..05S;2L..LH5#,61,71;2L..LH66..(DX,SGL)..08S198708-198908 23704PIPE SUB-ASSY, INJECTION, NO.4
main23704-54050i2L..LH66..(DX,SGL)..08S;2L..LH5#,6#,71..(COM,V)..(03S,05S,06S,09S,15S)198708-198908 23741CLAMP, INJECTION PIPE, NO.1
main23741-56010i2L..LH66..05S;2L#..LH5#,61,71;2L..LH66..(DX,SGL)..08S198708-198908 23743CLAMP, INJECTION PIPE, NO.3
main23741-54010i2L..LH66..05S;2L#..LH5#,61,71;2L..LH66..(DX,SGL)..08S198708-198908 23744CLAMP, INJECTION PIPE, NO.4
main23742-54010i2L..LH66..05S;2L#..LH5#,61,71;2L..LH66..(DX,SGL)..08S198708-198908 23811PIPE, FUEL(FOR FUEL FILTER TO INJECTION PUMP)
main23811-54130i2LT..LH51;2L..LH51,61,71..WG..MTM198708-198908