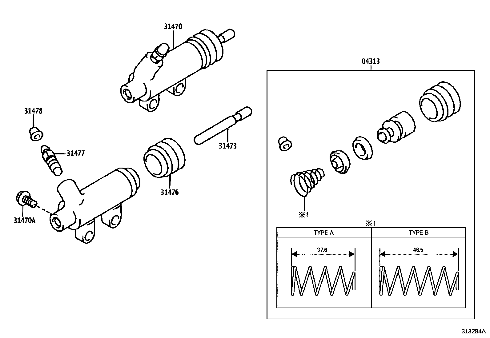
CLUTCH RELEASE CYLINDER

31470CYLINDER ASSY, CLUTCH RELEASE
31476BOOT, CLUTCH RELEASE CYLINDER
31477PLUG, BLEEDER(FOR RELEASE CYLINDER)
31478CAP, BLEEDER PLUG(FOR RELEASE CYLINDER)
7 parts on this diagram · 1 diagram in section

7 parts on this diagram · 1 diagram in section