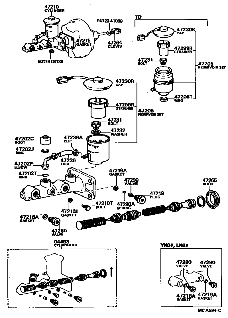
BRAKE MASTER CYLINDER

47202CBOOT, RESERVOIR, NO.1(FOR BRAKE MASTER CYLINDER SIDE)
47202JRING, SNAP(FOR BRAKE MASTER CYLINDER SIDE)
47202TRING(FOR BRAKE MASTER CYLINDER RESERVOIR, NO.1)
47205RESERVOIR SET, BRAKE MASTER CYLINDER(FOR REAR SIDE)
47205TRING(FOR BRAKE MASTER CYLINDER RESERVOIR, NO.2)
47210JGASKET(FOR MASTER CYLINDER)
47210TBOLT(FOR BRAKE MASTER CYLINDER)
47218AGASKET(FOR FLUID OUTLET PLUG)
47219PLUG, MASTER CYLINDER FLUID OUTLET(FOR REAR SIDE)
47219AGASKET(FOR FLUID OUTLET PLUG REAR SIDE)
47230RCAP ASSY, RESERVOIR, NO.2(FOR REAR SIDE)
47231BOLT, BRAKE MASTER CYLINDER RESERVOIR SET
47232WASHER, BRAKE RESERVOIR SET BOLT
47236TUBE, RESERVOIR BRAKE
47236ACLIP(FOR RESERVOIR TUBE)
sub96134-51500
47264CLEVIS, MASTER CYLINDER PUSH ROD
47265BOOT, MASTER CYLINDER
47275GASKET, BRAKE MASTER CYLINDER
47290ASPRING, COMPRESSION(FOR FLUID OUTLET REAR SIDE)
47299RSTRAINER, MASTER CYLINDER RESERVOIR, REAR
9017908136
main90179-08136
9412041000
main94120-41000
27 parts on this diagram · 1 diagram in section