E
EPC Data

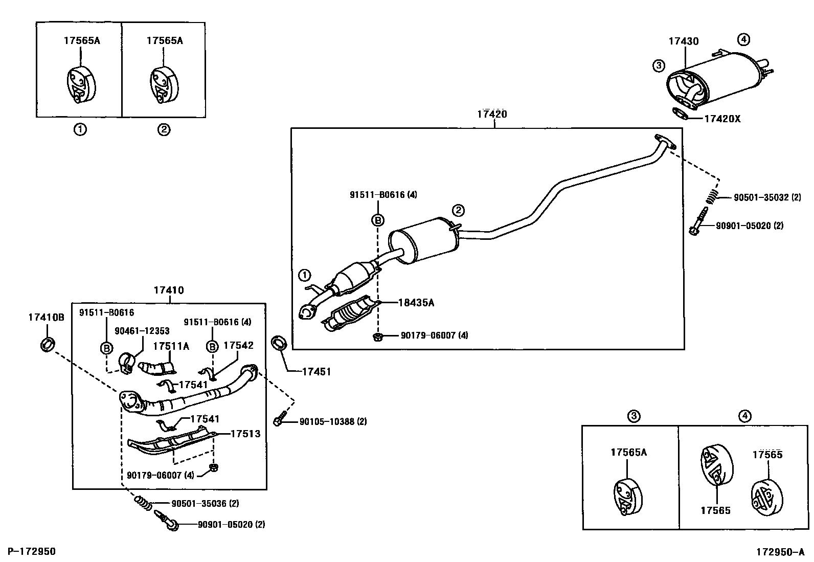
EXHAUST PIPE

Parts diagram
17410PIPE ASSY, EXHAUST, FRONT
main17410-28331i200105-200308
17410BGASKET, EXHAUST PIPE
main17451-22070i200105-200308
17420PIPE ASSY, EXHAUST, CENTER
main17420-28180i200105-200308
main17420-28410i200308-200503
main17420-28411i200503
17420XGASKET, EXHAUST PIPE, CENTER
main17451-20010i200105-200308
main17451-74060i200503
17430PIPE ASSY, EXHAUST, TAIL
main17405-28010i200105-200204
main17405-28011i200204-200308
main17430-28480i200308
17451GASKET, EXHAUST PIPE
main90917-06073i200105-200308
17511AINSULATOR, EXHAUST PIPE, UPPER NO.1
main17511-28020i200105-200308
17513INSULATOR, EXHAUST PIPE, LOWER NO.1
main17513-28020i200105-200308
17541STAY, EXHUST PIPE PROTECTOR, NO.1
main17541-68010×2i200105-200308
17542STAY, EXHAUST PIPE PROTECTOR, NO.2
main17541-28040i200105-200308
17565SUPPORT, EXHAUST PIPE, NO.5
main17565-15140×2i200105-200308
17565ASUPPORT, EXHAUST PIPE, NO.4
main17565-74320×3i200105-200308
18435APROTECTOR, MONOLITHIC CONVERTER
main18435-28030i200105-200308
9010510388
9017906007
9046112353
9050135032
9050135036
9090105020
91511B0616

20 parts on this diagram · 1 diagram in section

EXHAUST PIPE — Toyota Parts Diagram with OEM Numbers & Prices | EPC Data