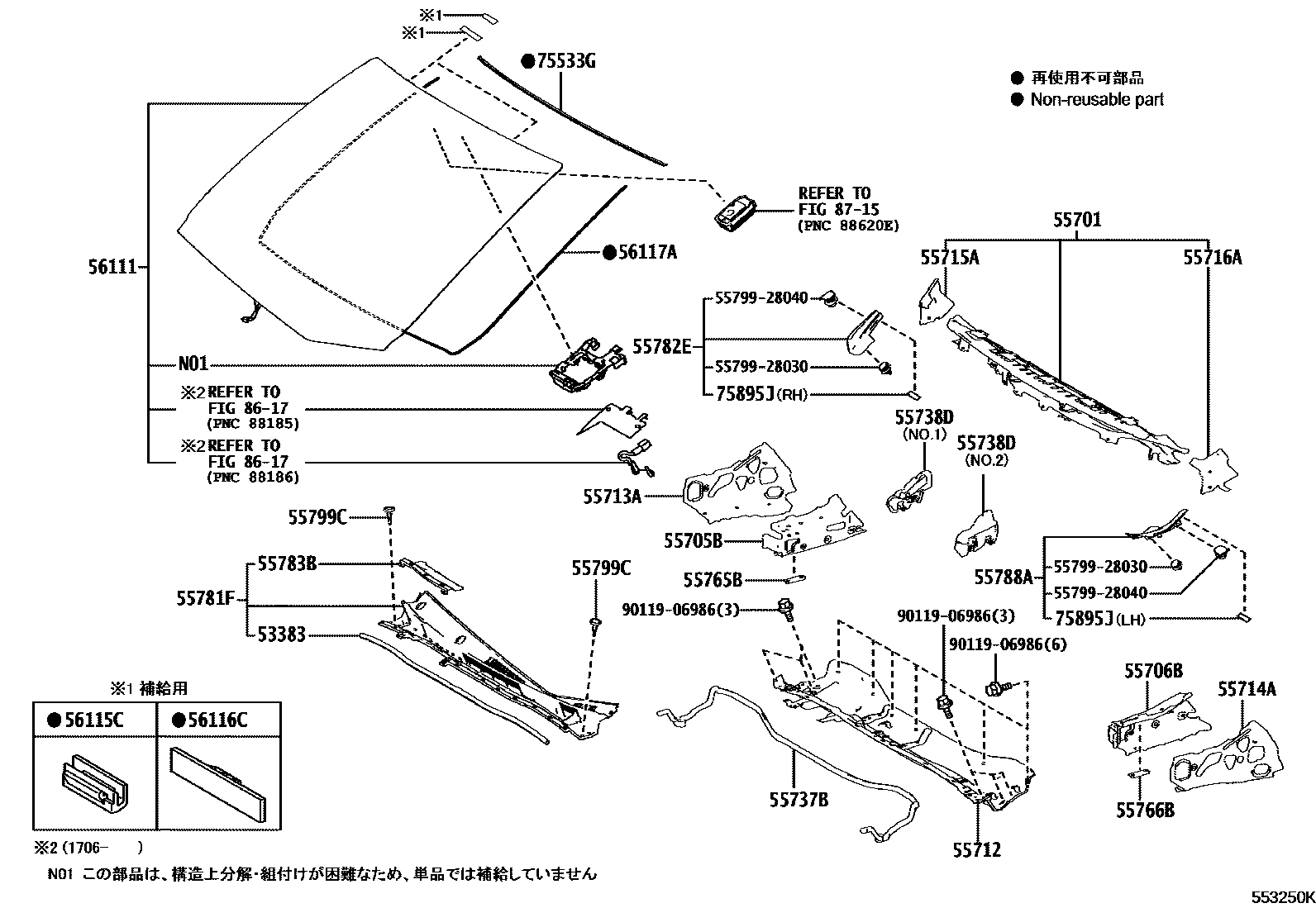
COWL PANEL & WINDSHIELD GLASS

53383SEAL, HOOD TO COWL TOP
55701PANEL SUB-ASSY, COWL
55705BPANEL SUB-ASSY, COWL TOP SIDE, RH
55706BPANEL SUB-ASSY, COWL TOP SIDE, LH
55712PANEL, COWL TOP OUTSIDE, FRONT
55713APANEL, COWL TOP SIDE, RH
55714APANEL, COWL TOP SIDE, LH
55715ABRACE, COWL TOP TO APRON, RH
55716ABRACE, COWL TOP TO APRON, LH
55737BSEAL, HEATER AIR DUCT SPLASH SHIELD, NO.1
55738DSEAL, HEATER AIR DUCT SPLASH SHIELD, NO.2
55765BBRACKET, HOOD DAMPER MOUNTING
55766BBRACKET, HOOD DAMPER MOUNTING
55783BLOUVER, COWL TOP VENTILATOR, CENTER NO.1
55799CCLIP, COWL TOP VENTILATOR LOUVER
56111GLASS, WINDSHIELD
56115CSTOPPER, WINDSHIELD GLASS
56116CSTOPPER, WINDSHIELD GLASS, NO.2
56117ADAM, WINDOW GLASS ADHESIVE
75533GMOULDING, WINDSHIELD, OUTSIDE
75895JTAPE, MOULDING, NO.1
8617
8715
5579928030COVER, WIPER MOTOR
main55799-28030
5579928040COVER, WIPER MOTOR
main55799-28040
9011906986
main90119-06986
29 parts on this diagram · 1 diagram in section