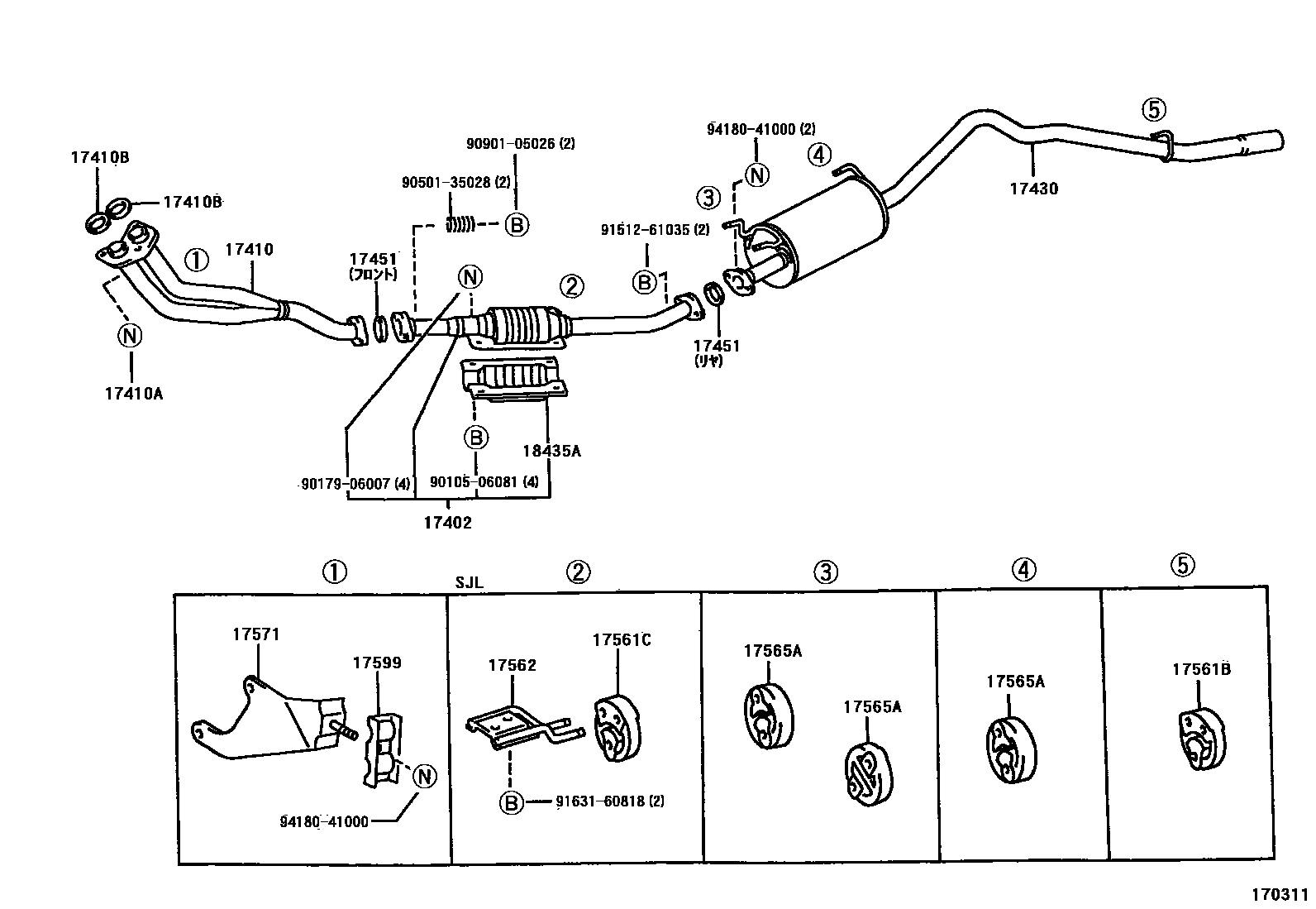
EXHAUST PIPE

17410ANUT, EXHAUST PIPE SET STUD BOLT
17561BSUPPORT, EXHAUST PIPE, NO.1
17561CSUPPORT, EXHAUST PIPE, NO.1
17562SUPPORT, EXHAUST PIPE, NO.2
17565ASUPPORT, EXHAUST PIPE, NO.4
17571BRACKET, EXHAUST PIPE SUPPORT, NO.1
17599HOLDER, EXHAUST PIPE SUPPORT STOPPER
9010506081
main90105-06081
9017906007
main90179-06007
9050135028
main90501-35028
9090105026
main90901-05026
9151261035
main91512-61035
9163160818
main91631-60818
9418041000
main94180-41000
20 parts on this diagram · 10 diagrams in section