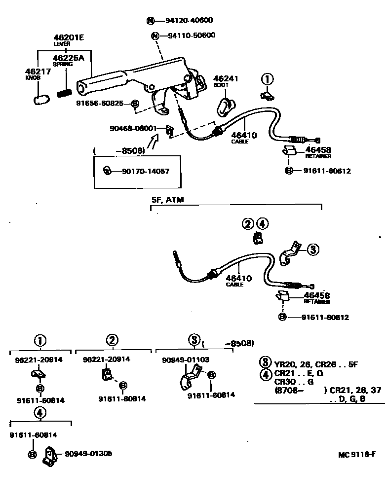
PARKING BRAKE & CABLE

46201ELEVER SUB-ASSY, PARKING BRAKE
main46201-28022-03iYR20..MRF..(D,G);YR20..HRF..5F..G;CR26,27,36,KR26,YR26,28,3#..B,D,G,N198802-198808
GRAY,SHADOW GRAY,TRIM1#
sub46201-28022
main46201-28022-04iYR20..MRF..(D,G);YR20..HRF..5F..G;CR26,27,36,KR26,YR26,28,3#..B,D,G,N198802-198808
BLUE,BLUE,TRIM8#
sub46201-28022
main46201-28022-05iYR20..MRF..(D,G);YR20..HRF..5F..G;CR26,27,36,KR26,YR26,28,3#..B,D,G,N198802-198808
BEIGE,BEIGE,TRIM4#
sub46201-28022
W/URETHAN STEERING,GRAY,GRAY,TRIM1#
sub46201-28030
W/URETHAN STEERING,BEIGE,BEIGE,TRIM4#
sub46201-28030
46217KNOB, PARKING BRAKE RELEASE ROD
main46217-12020-15iYR20..HRF..E;YR20..HRF..5F..G;YR20..MRF..(08S,09S);CR2#,3#,KR26,YR21,26,28,3#198802-198808
BEIGE,BEIGE,TRIM4#
sub46217-12020
sub46217-16030
main46217-20020-05iYR20..HRF..(E,Q);YR20..HRF..5F..G;YR20..MRF..(08S,09S);CR2#,3#,KR26,YR21,26,28,3#198508-198802
BEIGE,BEIGE,TRIM4#
sub46217-20020
main46217-20020-32iYR20..HRF..5F..G;CR2#,KR26,YR21,26;YR20..HRF..(E,Q,X);YR20..MRF..(08S,09S)198504-198508
WINE,WINE,TRIM4#
sub46217-20020
main46217-20020-34iYR20..5F..(E,Q);CR21,YR21..E,Q,X;YR20..HRF..5F..X;YR20..4FC..(E,Q,X)198504-198508
BLUE,BLUE,TRIM8#
sub46217-20020
46225ASPRING, COMPRESSION(FOR PARKING BRAKE PAWL ROD)
main90501-10069iYR20..HRF..5F..G;YR20..HRF..(E,Q,X);YR20..MRF..(08S,09S);CR2#,3#,KR26,YR21,26,28,3#198504-198808
46241BOOT, PARKING BRAKE LEVER
46410CABLE ASSY, PARKING BRAKE, NO.1
46458RETAINER, CABLE
9017014057
main90170-14057
9046808001
main90468-08001
9094901103
main90949-01103
9094901305
main90949-01305
9161160612
main91611-60612
9161160814
main91611-60814
9165660825
main91656-60825
9411050600
main94110-50600
9412040600
main94120-40600
9622120914
main96221-20914
16 parts on this diagram · 2 diagrams in section