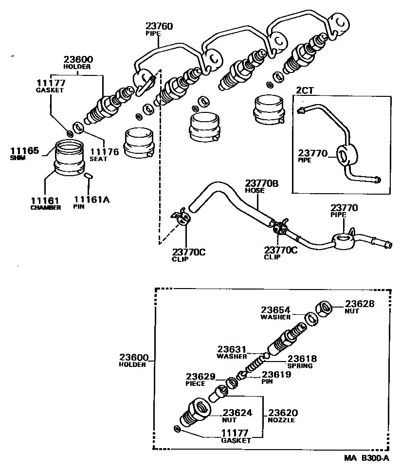
INJECTION NOZZLE

11161APIN, STRAIGHT(FOR COMBUSTION CHAMBER)
11176SEAT, INJECTION NOZZLE
11177GASKET, INJECTION NOZZLE SEAT
23600HOLDER & NOZZLE SET, NOZZLE
23618SPRING, NOZZLE HOLDER PRESSURE
23619PIN, NOZZLE HOLDER PRESSURE
23620NOZZLE ASSY
23624NUT, NOZZLE RETAINING
sub23624-64041
23628NUT(FOR RING PACKING SETTING)
23629PIECE, DISTANCE(FOR NOZZLE)
23631WASHER(FOR NOZZLE HOLDER PRESSURE SPRING)
23654WASHER(FOR RING PACKING)
23760PIPE ASSY, NOZZLE LEAKAGE
23770BHOSE, FUEL
23770CCLAMP OR CLIP(FOR FUEL HOSE SET)
sub90467-10149
18 parts on this diagram · 1 diagram in section