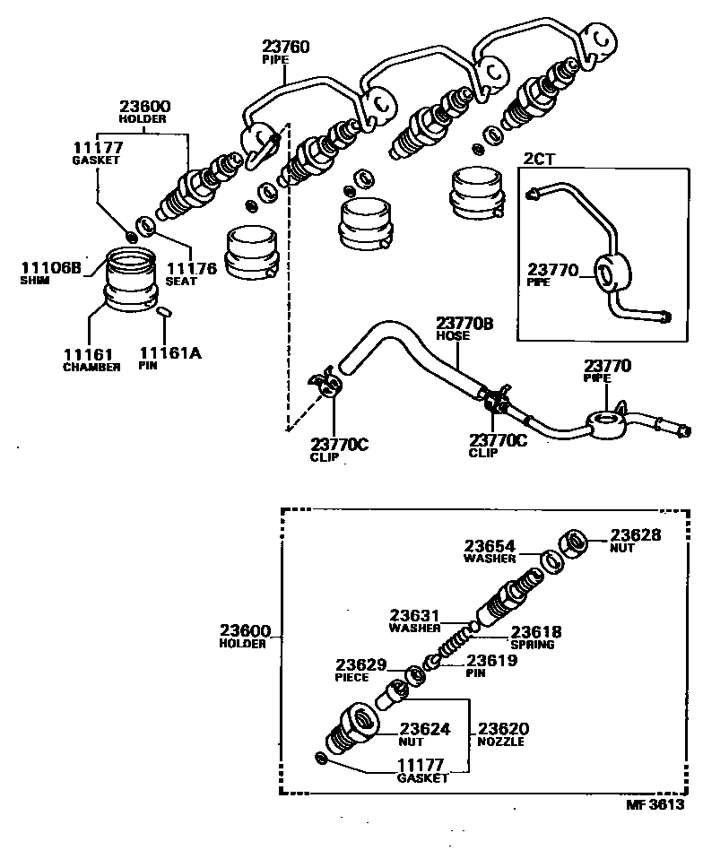
INJECTION NOZZLE

11161APIN, STRAIGHT(FOR COMBUSTION CHAMBER)
11176SEAT, INJECTION NOZZLE
11177GASKET, INJECTION NOZZLE SEAT
23600HOLDER & NOZZLE SET, NOZZLE
23618SPRING, NOZZLE HOLDER PRESSURE
23619PIN, NOZZLE HOLDER PRESSURE
23620NOZZLE ASSY
23624NUT, NOZZLE RETAINING
sub23624-64041
23628NUT(FOR RING PACKING SETTING)
23629PIECE, DISTANCE(FOR NOZZLE)
23631WASHER(FOR NOZZLE HOLDER PRESSURE SPRING)
23654WASHER(FOR RING PACKING)
23760PIPE ASSY, NOZZLE LEAKAGE
23770PIPE ASSY, NOZZLE LEAKAGE, NO.2
23770CCLAMP OR CLIP(FOR FUEL HOSE SET)
sub96132-51000
18 parts on this diagram · 1 diagram in section