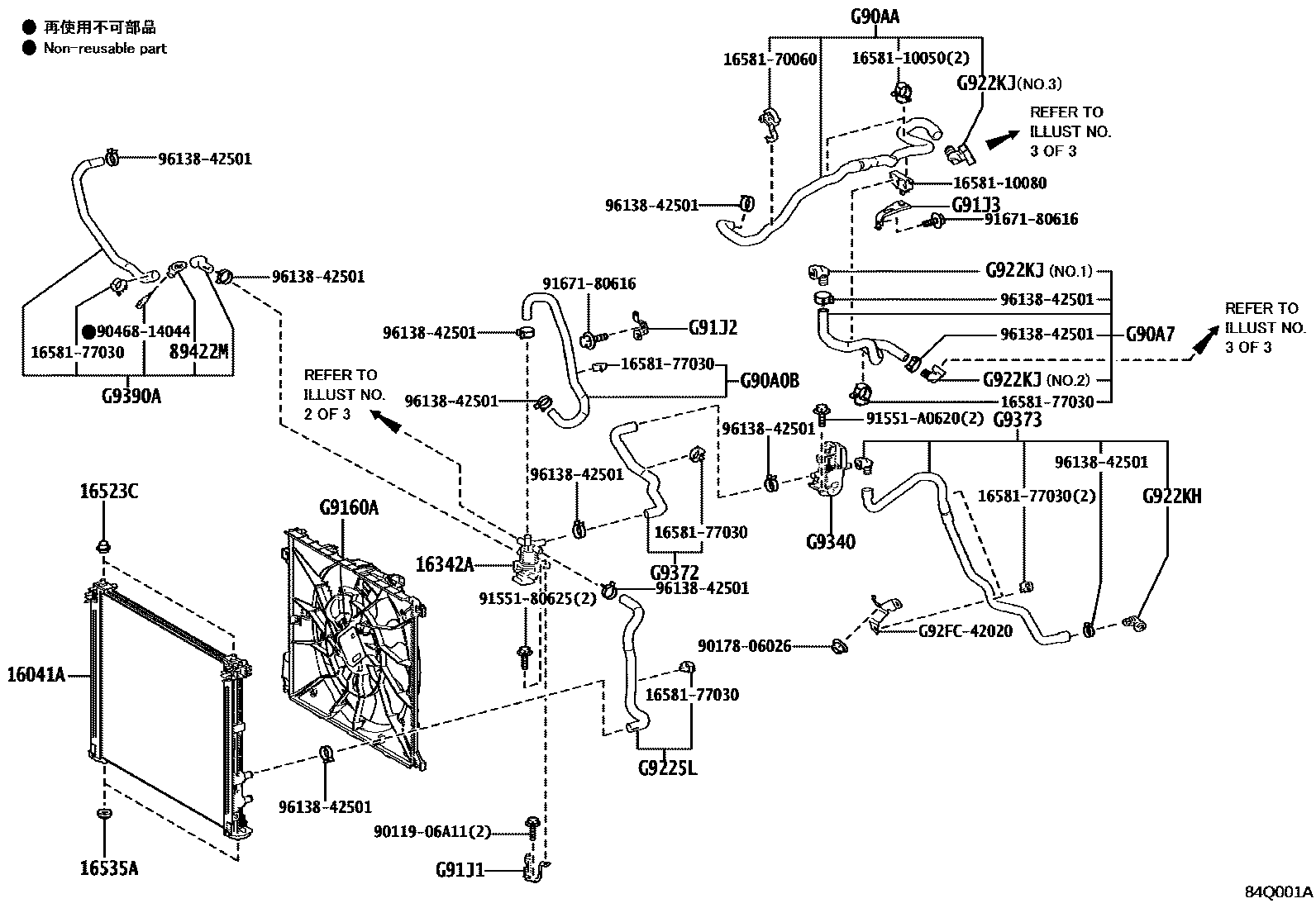
BEV COOLING

16041ARADIATOR SUB-ASSY, L/CAP
16342AVALVE, WATER CONTROL
16523CCUSHION, RADIATOR SUPPORT
16535ASUPPORT, RADIATOR, LOWER
89422MSENSOR, WATER TEMPERATURE
G90A0BHOSE ASSY, INVERTER COOLING, NO.1
G90A7HOSE SUB-ASSY, INVERTER COOLING, NO.7
G90AAHOSE SUB-ASSY, INVERTER COOLING, NO.10
G9160AFAN ASSY, INVERTER COOLING W/MOTOR
G91J2BRACKET, INVERTER COOLING, NO.2
G91J3BRACKET, INVERTER COOLING, NO.3
G9225LHOSE, INVERTER COOLING, NO.1
G922KHCONNECTOR, WATER HOSE, NO.1
G922KJCONNECTOR, WATER HOSE, NO.2
G9340HEATER ASSY, BATTERY COOLANT
G9372HOSE, EV WATER BY-PASS, NO.2
G9373HOSE, EV WATER BY-PASS, NO.3
G9390HOSE ASSY, EV WATER PUMP, NO.1
G9390AHOSE ASSY, EV WATER PUMP, NO.2
1658110050CLAMP, HOSE(FOR WATER HOSE)
main16581-10050
1658110080CLAMP, HOSE(FOR WATER HOSE)
main16581-10080
1658170060CLAMP, HOSE(FOR WATER HOSE)
main16581-70060
1658177030CLAMP, HOSE(FOR WATER HOSE)
main16581-77030
9011906A11
main90119-06A11
9017806026
main90178-06026
9046814044
main90468-14044
9155180625
main91551-80625
91551A0620
main91551-A0620
9167180616
main91671-80616
9613842501
main96138-42501
G92FC42020BRACKET, BATTERY COOLING, NO.1
mainG92FC-42020
32 parts on this diagram · 7 diagrams in section