E
EPC Data

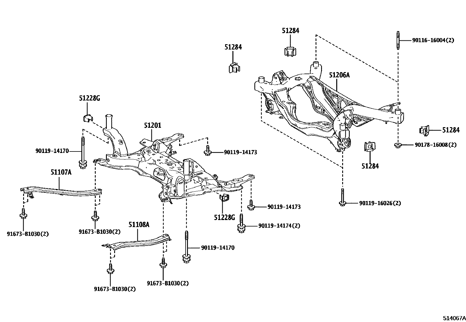
SUSPENSION CROSSMEMBER & UNDER COVER

Parts diagram
51107AREINFORCEMENT SUB-ASSY, SIDE RAIL, REAR RH
main51107-12040i202108-202310
51108AREINFORCEMENT SUB-ASSY, SIDE RAIL, REAR LH
main51108-12040i202310
51201CROSSMEMBER SUB-ASSY, FRONT SUSPENSION
main51201-76031i202108-202111
main51201-76032i202310
51206AMEMBER SUB-ASSY, REAR SUSPENSION
main51206-16041i202310
main51206-76020i202108-202203
main51206-76021i202204-202207
main51206-76022i202208-202310
51228GPLATE, FRONT SUSPENSION MEMBER
main51228-47010×2i202310
51284COVER, REAR SUSPENSION MEMBER HOLE
main51284-47010×4i202108-202208
9011616004
9011914170
9011914173
9011914174
9011916026
9017816008
91673B1030

13 parts on this diagram · 2 diagrams in section

SUSPENSION CROSSMEMBER & UNDER COVER — Toyota Parts Diagram with OEM Numbers & Prices | EPC Data