E
EPC Data
Pricing
API Docs
Sign In
Home
›
JP
›
529110
›
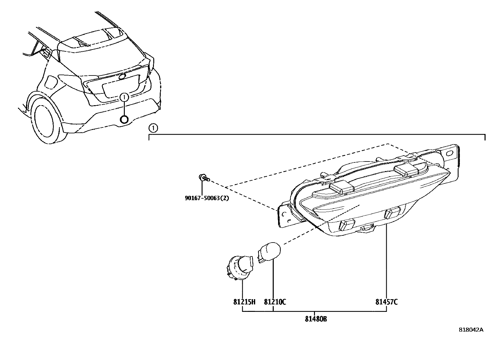
REAR FOG LAMP
REAR FOG LAMP
0001 1���������
0002 1LED����
81210C
BULB, REAR FOG LAMP
81215H
SOCKET, REAR FOG LAMP
81457C
LENS & BODY, REAR FOG LAMP
81480B
LAMP ASSY, REAR FOG
9016750063
main
90167-50063
5 parts on this diagram · 2 diagrams in section
REAR FOG LAMP — Toyota Parts Diagram with OEM Numbers & Prices | EPC Data