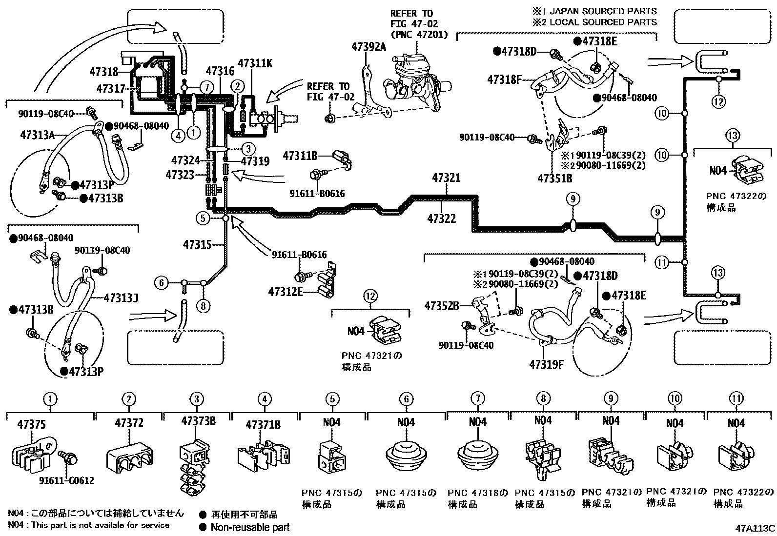
BRAKE TUBE & CLAMP

4702
47311BWAY, NO.1(FOR FRONT BRAKE TUBE)
47311KTUBE, BRAKE MASTER CYLINDER TO WAY
47312EWAY, NO.2(FOR FRONT BRAKE TUBE)
47313AHOSE, FLEXIBLE, NO.1(FOR FRONT)
47313BBOLT, UNION(FOR FRONT FLEXIBLE HOSE)
47313JHOSE, FLEXIBLE, NO.2(FOR FRONT)
47313PGASKET(FOR FRONT FLEXIBLE HOSE)
47318DBOLT, UNION(FOR REAR FLEXIBLE HOSE)
47318EGASKET(FOR REAR FLEXIBLE HOSE)
47318FHOSE, FLEXIBLE(FOR REAR RH)
47319FHOSE, FLEXIBLE(FOR REAR LH)
47321TUBE, REAR BRAKE, NO.1
47322TUBE, REAR BRAKE, NO.2
47351BBRACKET, FLEXIBLE HOSE, NO.1
47352BBRACKET, FLEXIBLE HOSE, NO.2
47372CLAMP, BRAKE TUBE, NO.2
47375CLAMP, BRAKE TUBE, NO.5
47392AWAY, BRAKE TUBE, NO.2
9008011669
main90080-11669
9011908C39
main90119-08C39
9011908C40
main90119-08C40
9046808040
main90468-08040
91611B0616
main91611-B0616
91611G0612
main91611-G0612
34 parts on this diagram · 8 diagrams in section