E
EPC Data

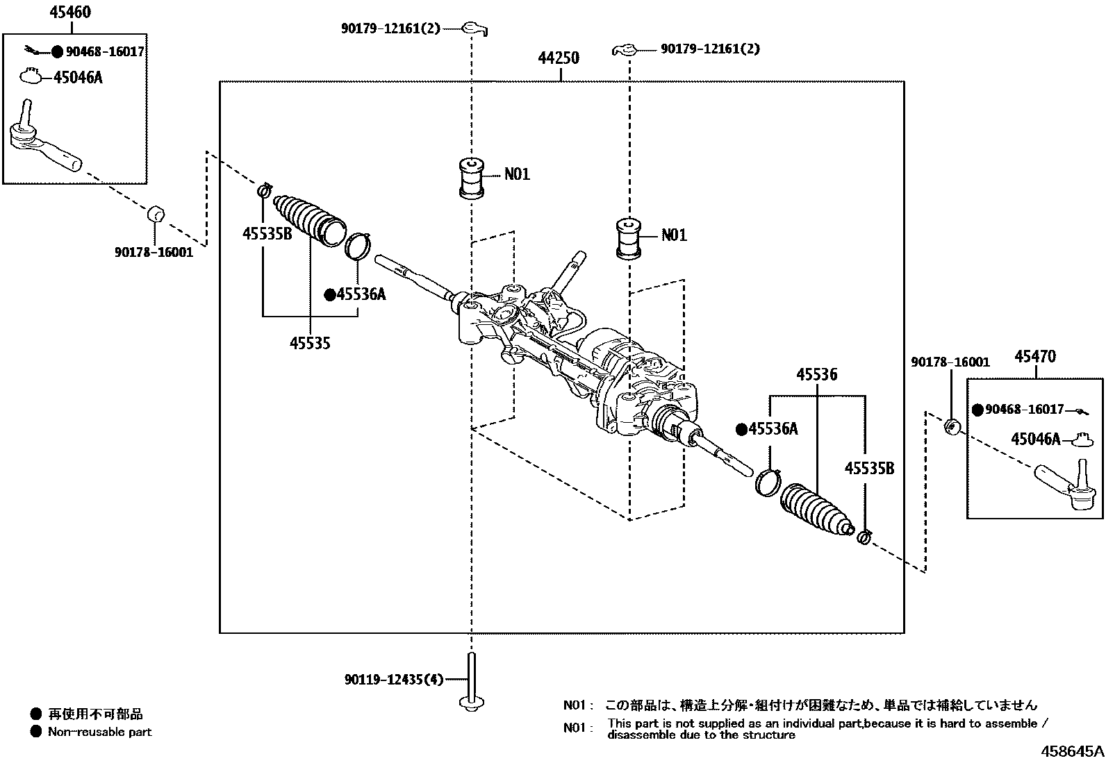
FRONT STEERING GEAR & LINK

Parts diagram
44250GEAR ASSY, POWER STEERING(FOR RACK & PINION)
main44250-11082i202305-202410
main44250-11083i202410
main44250-11102i202305
45046ANUT, CASTLE(FOR TIE ROD END)
main90171-12014i202305
45460ROD ASSY, TIE, RH
main45460-19255i202305
45470ROD ASSY, TIE, LH
main45470-19085i202305
45535BOOT, STEERING RACK, NO.1
main45535-19005i202305
45535BCLIP(FOR STEERING RACK BOOT)
main90467-19021i202305
45536BOOT, STEERING RACK, NO.2
main45535-19005i202305
45536ACLAMP(FOR STEERING RACK BOOT NO.2)
main45538-02070i202305
9011912435
9017816001
9017912161
9046816017

12 parts on this diagram · 1 diagram in section

FRONT STEERING GEAR & LINK — Toyota Parts Diagram with OEM Numbers & Prices | EPC Data