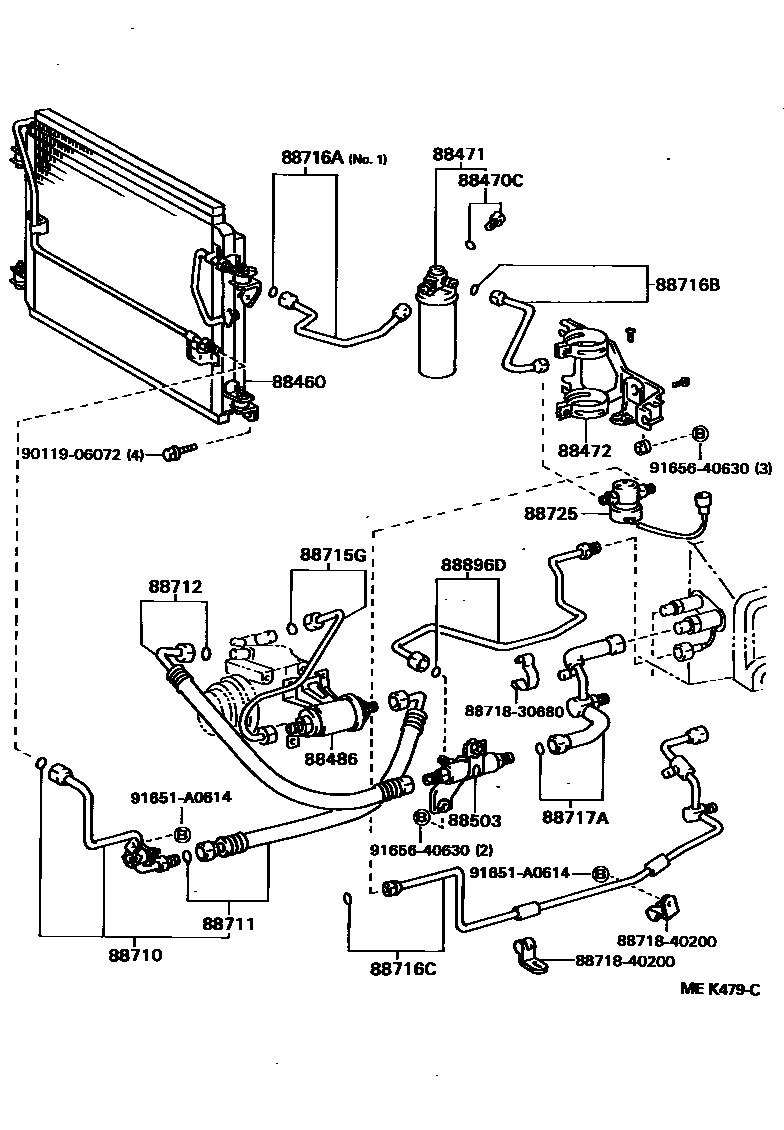
HEATING & AIR CONDITIONING - COOLER PIPING

88460CONDENSER ASSY, COOLER
88470CBOLT, FUSE
88471TANK, RECEIVER AIR CONDITIONER
88472BRACKET, RECEIVER TANK, NO.1
88486MUFFLER, DISCHARGE
88710TUBE ASSY, AIR CONDITIONER
88715GTUBE, DISCHARGE, G
88716APIPE, COOLER REFRIGERANT LIQUID, A
88716BPIPE, COOLER REFRIGERANT LIQUID, B
NO.2
NO.1
88716CPIPE, COOLER REFRIGERANT LIQUID, C
88717APIPE, COOLER REFRIGERANT SUCTION, A
88725SENSOR, REFRIGERANT
8871830680PIPE, COOLER REFRIGERANT SUCTION, NO.2
main88718-30680
8871840200PIPE, COOLER REFRIGERANT SUCTION, NO.2
main88718-40200
9011906072
main90119-06072
91651A0614
main91651-A0614
9165640630
main91656-40630
21 parts on this diagram · 7 diagrams in section