E
EPC Data

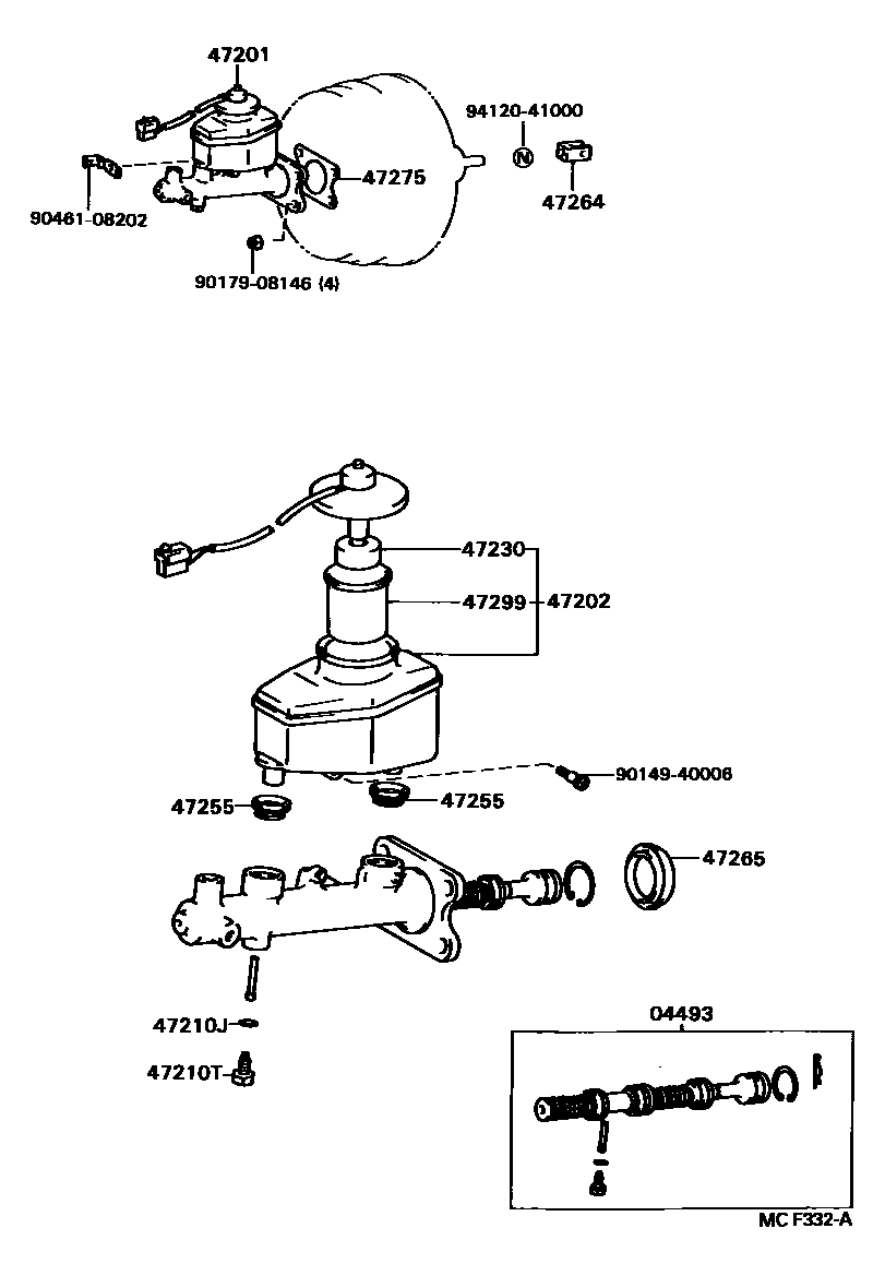
BRAKE MASTER CYLINDER

Parts diagram
04493CYLINDER KIT, BRAKE MASTER
main04493-40040i198709-198905
main04493-40050i198905-199701
47201CYLINDER SUB-ASSY, BRAKE MASTER
main47201-40060i198709-198905
main47201-40061i198905-199701
47202RESERVOIR SUB-ASSY, BRAKE MASTER CYLINDER
main47202-22240i198905-199701
main47202-40040i198709-198905
47210JGASKET(FOR MASTER CYLINDER)
main90430-06104i198709-199701
47210TBOLT(FOR BRAKE MASTER CYLINDER)
main90109-06008i198709-198905
main90109-06077i198905-199701
47230CAP ASSY, BRAKE MASTER CYLINDER RESERVOIR FILLER
main84460-40020i198709-199701
47255GROMMET, MASTER CYLINDER RESERVOIR
main47255-10010i198709-198905
main47255-16010i198905-199701
47264CLEVIS, MASTER CYLINDER PUSH ROD
main47264-30040i198709-199201
main47264-50010i199201-199701
47265BOOT, MASTER CYLINDER
main47265-20050i198709-199701
47275GASKET, BRAKE MASTER CYLINDER
main47275-24010i198709-199701
47299STRAINER, BRAKE MASTER CYLINDER RESERVOIR
main47299-32010i198709-199701
9014940006
9017908146
9046108202
9412041000

15 parts on this diagram · 1 diagram in section

BRAKE MASTER CYLINDER — Toyota Parts Diagram with OEM Numbers & Prices | EPC Data