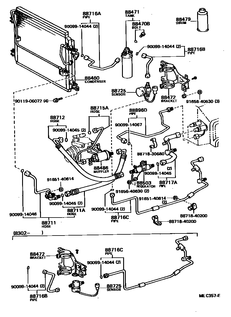
HEATING & AIR CONDITIONING - COOLER PIPING

88460CONDENSER ASSY, COOLER
88470BBOLT, FUSE
88471TANK, RECEIVER AIR CONDITIONER
88479FREON GAS, AIR CONDITIONER (DRUM, COOLER REFRIGERANT)
88486MUFFLER, DISCHARGE
88503REGULATOR ASSY, PRESSURE
88711HOSE, COOLER REFRIGERANT DISCHARGE, NO.1
88711AHOSE, COOLER REFRIGERANT DISCHARGE, NO.2
sub88711-40150
88712HOSE, COOLER REFRIGERANT SUCTION, NO.1
sub88712-40100
88715APIPE, COOLER REFRIGERANT DISCHARGE, A
88716APIPE, COOLER REFRIGERANT LIQUID, A
88716BPIPE, COOLER REFRIGERANT LIQUID, B
88717APIPE, COOLER REFRIGERANT SUCTION, A
88725SENSOR, REFRIGERANT
sub88725-40011
88896DPIPE, EQUALIZER
8871830680PIPE, COOLER REFRIGERANT SUCTION, NO.2
main88718-30680
8871840200PIPE, COOLER REFRIGERANT SUCTION, NO.2
main88718-40200
9009914044
main90099-14044
9009914045
main90099-14045
9009914046
main90099-14046
9009914067
main90099-14067
9011906072
main90119-06072
9165140614
main91651-40614
9165640630
main91656-40630
26 parts on this diagram · 2 diagrams in section