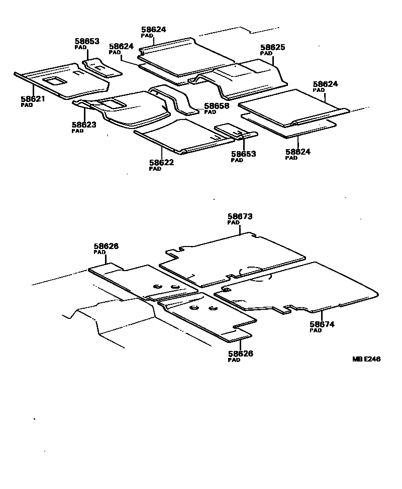
DASH SILENCER BOARD & FLOOR SILENCER PAD

58621PAD, FLOOR SILENCER, FRONT RH
58622PAD, FLOOR SILENCER, FRONT LH
58623PAD, FLOOR SILENCER, FRONT CENTER
58624PAD, FLOOR SILENCER, REAR SIDE
UPR
LWR
58625PAD, FLOOR SILENCER, REAR CENTER
58626PAD, FLOOR SILENCER, REAR
RH
LH
58653PAD, FRONT FLOOR SILENCER, CENTER NO.2
58658PAD, SHAFT TUNNEL SILENCER, FRONT NO.2
58673PAD, REAR FLOOR SILENCER, NO.1
58674PAD, REAR FLOOR SILENCER, NO.2
10 parts on this diagram · 1 diagram in section