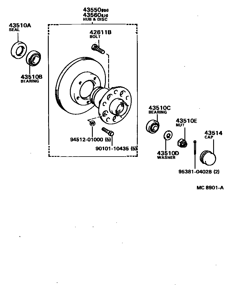
FRONT AXLE HUB

43510ASEAL, OIL (FOR FRONT AXLE HUB)
43510DWASHER, CLAW (FOR STEERING KNUCKLE WASHER)
43510ENUT (FOR STEERING KNUCKLE)
43514CAP, FRONT HUB GREASE
43550HUB & DISC ASSY, FRONT AXLE, RH
43560HUB & DISC ASSY, FRONT AXLE, LH
9010110435
main90101-10435
9451201000
main94512-01000
9538104028
main95381-04028
12 parts on this diagram · 1 diagram in section