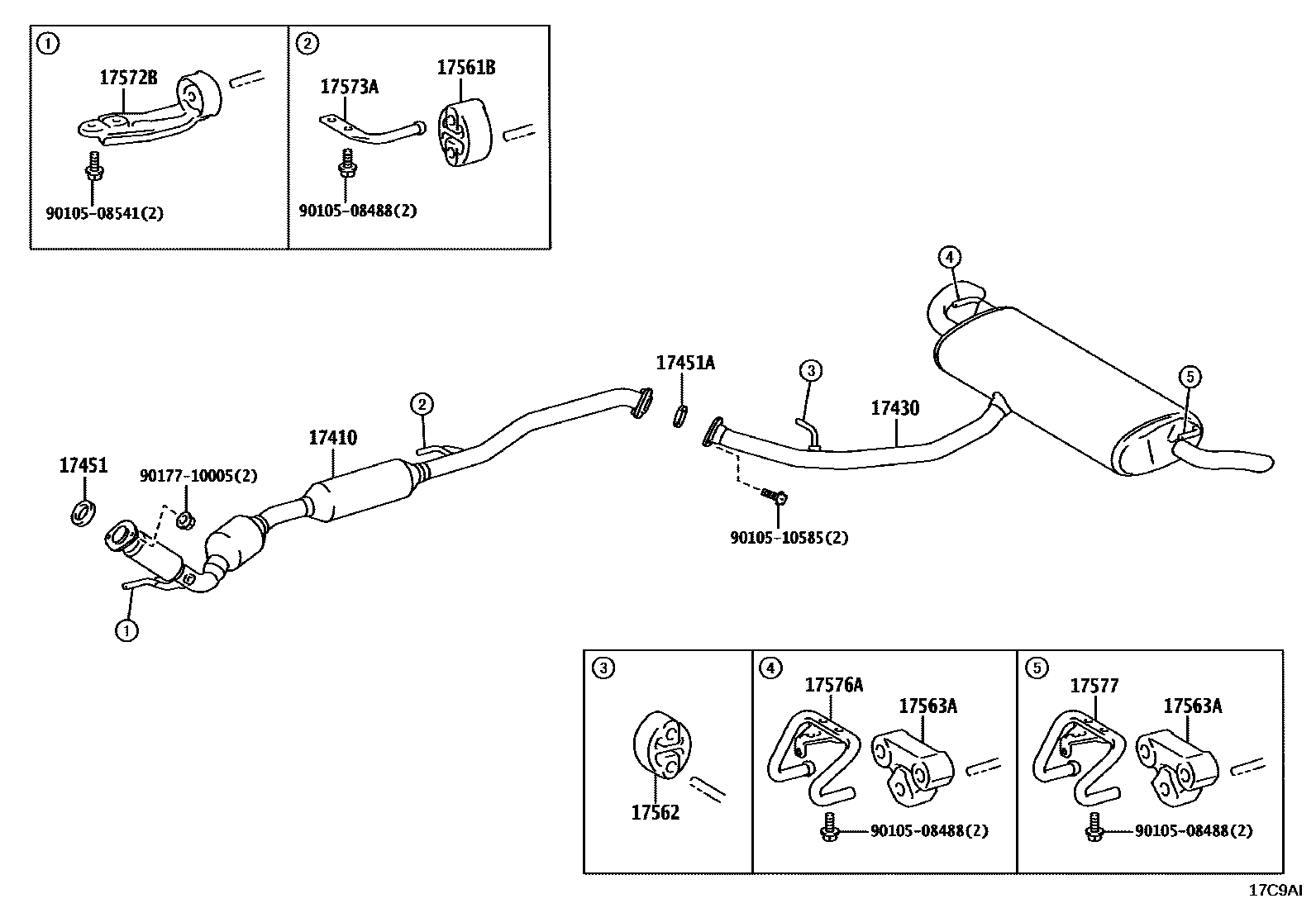
EXHAUST PIPE

17430PIPE ASSY, EXHAUST, TAIL
17451GASKET, EXHAUST PIPE
17451AGASKET, EXHAUST PIPE, NO.2
17561BSUPPORT, EXHAUST PIPE, NO.1
17562SUPPORT, EXHAUST PIPE, NO.2
17563ASUPPORT, EXHAUST PIPE, NO.3
17572BBRACKET, EXHAUST PIPE SUPPORT, NO.2
17573ABRACKET, EXHAUST PIPE SUPPORT, NO.3
17576ABRACKET, EXHAUST PIPE SUPPORT, NO.6
17577BRACKET, EXHAUST PIPE SUPPORT, NO.7
9010508488
main90105-08488
9010508541
main90105-08541
9010510585
main90105-10585
9017710005
main90177-10005
15 parts on this diagram · 1 diagram in section