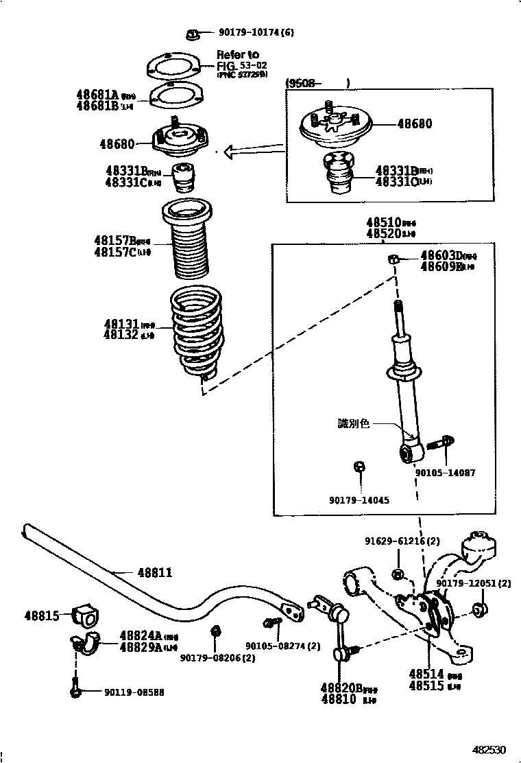
FRONT SPRING & SHOCK ABSORBER

48157BINSULATOR, FRONT COIL SPRING, UPPER RH
48157CINSULATOR, FRONT COIL SPRING, UPPER LH
48331BBUMPER, FRONT SPRING, RH
48331CBUMPER, FRONT SPRING, LH
48510ABSORBER ASSY, SHOCK, FRONT RH
sub48510-39206
sub48510-39186
sub48510-39196
sub48510-39207
sub48510-39207
sub48510-39196
sub48510-39196
sub48510-80157
48514BRACKET, FRONT SHOCK ABSORBER, LOWER RH
48515BRACKET, FRONT SHOCK ABSORBER, LOWER LH
48520ABSORBER ASSY, SHOCK, FRONT LH
sub48510-39206
sub48510-39186
sub48510-39196
sub48510-39207
sub48510-39207
sub48510-39196
sub48510-39196
sub48510-80157
48680SUPPORT ASSY, FRONT SUSPENSION
48681AGASKET, FRONT SUSPENSION SUPPORT, RH
48681BGASKET, FRONT SUSPENSION SUPPORT, LH
5302
9010508274
main90105-08274
9010514087
main90105-14087
9011908588
main90119-08588
9017908206
main90179-08206
9017910174
main90179-10174
9017912051
main90179-12051
9017914045
main90179-14045
9162961216
main91629-61216
31 parts on this diagram · 3 diagrams in section