E
EPC Data
Pricing
API Docs
Sign In
Home
›
JP
›
331160
›
VENTILATION HOSE
VENTILATION HOSE
0001 1
0002 1
0003 1
0004 1
0006 1
0007 1
0008 1
0009 1
0010 1
0011 1
0012 1
0013 1
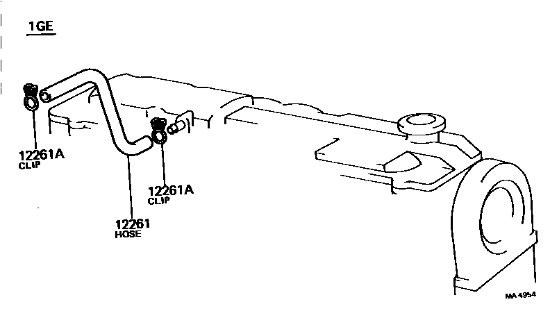
12261
HOSE, VENTILATION
main
12261-42010
i
7MGE..MS135,137
198709-199110
main
12261-43020
i
MP..MS130
198709-198908
main
12261-46010
i
1JZGE..JZS13#
199008-199110
main
12261-50020
i
1UZFE..UZS131
198908-199110
sub
12261-50021
main
12261-54020
i
2L,2LT#..LS13#
198709-198908
main
12261-54090
i
2LT#..LS130,131
198908-199110
main
12261-54150
i
2L..LS130,136
198908-199110
main
12261-70020
i
1GE..GS13#
198709-198908
main
12261-70030
i
1GGZE..GS130,131
198709-198809
main
12261-70040
i
1GFE..GS13#
198809-199110
main
12261-70051
i
1GGP,1GGZE..GS130,131
198809-199110
main
12261-70060
i
1GGZE..GS131..ROY
199008-199110
main
12261-72010
i
3YP..YS130
198709-198907
main
12261-73030
i
3YP#..YS130
198907-199110
main
12261-88302
i
1GGE..GS131
198709-199110
12261A
CLIP OR CLAMP(FOR VENTILATION HOSE)
main
90467-14001
i
1GE,1GGZE..GS13#
198709-199110
main
90467-15019
i
1GGP,1GGZE..GS130,131
198809-199110
main
90467-15019
i
1GGZE..GS131..ROY
199008-199110
main
90467-15021
i
1UZFE..UZS131
198908-199110
main
90467-15120
i
2LT#..LS130
198709-198908
main
90467-16035
i
7MGE..MS135,137
198709-199110
main
90467-17006
i
1GFE..GS13#
198809-199110
sub
90467-17011
main
90467-18003
i
2L,2LT#..LS13#
198908-199110
2 parts on this diagram · 12 diagrams in section
VENTILATION HOSE — Toyota Parts Diagram with OEM Numbers & Prices | EPC Data