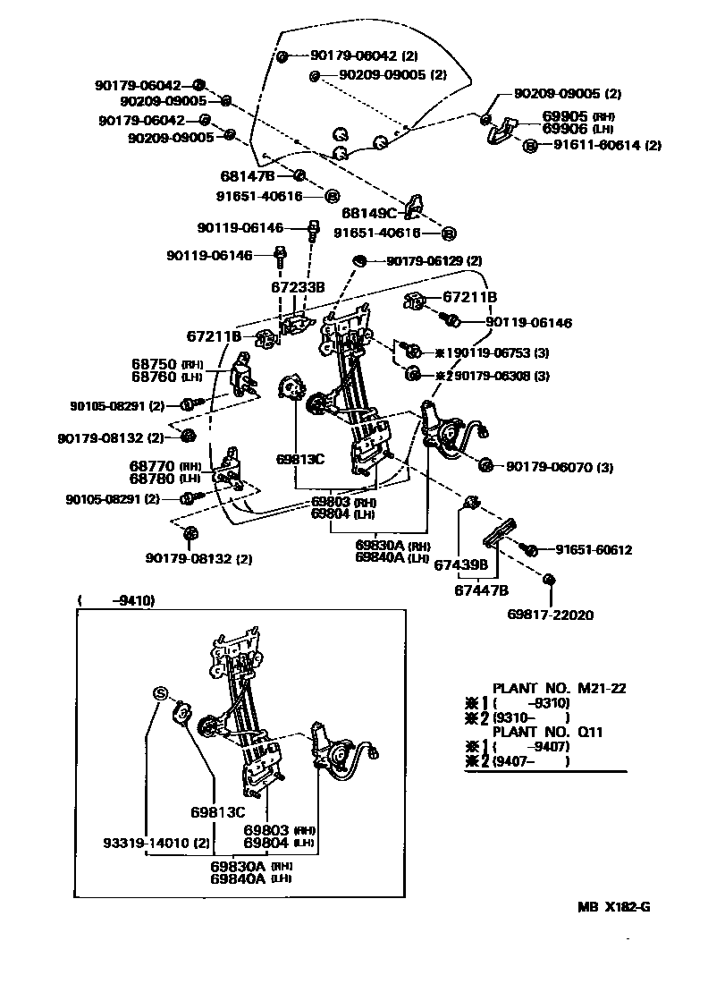
REAR DOOR WINDOW REGULATOR & HINGE

67211BSTOP, REAR DOOR WINDOW, UPPER
67233BSUPPORT, REAR DOOR TRIM
sub67233-32070
67439BSNAP, REAR DOOR WINDOW GUIDE
67447BPLATE, REAR DOOR WINDOW GUIDE, LOWER
68147BSTOP, REAR DOOR GLASS, UPPER
68149CSTABILIZER, REAR DOOR GLASS MALE
68750HINGE ASSY, REAR DOOR, UPPER RH
68760HINGE ASSY, REAR DOOR, UPPER LH
68770HINGE ASSY, REAR DOOR, LOWER RH
68780HINGE ASSY, REAR DOOR, LOWER LH
69803REGULATOR SUB-ASSY, REAR DOOR WINDOW, RH
69804REGULATOR SUB-ASSY, REAR DOOR WINDOW, LH
69813CPLATE, REAR DOOR POWER WINDOW REGULATOR BASE
69830AREGULATOR ASSY, REAR DOOR WINDOW, RH
69840AREGULATOR ASSY, REAR DOOR WINDOW, LH
PLANT NO.M21-22
69905BRACKET SUB-ASSY, REAR DOOR GLASS, RH
69906BRACKET SUB-ASSY, REAR DOOR GLASS, LH
6981722020PLATE, QUARTER WINDOW REGULATOR BASE, RH
main69817-22020
9010508291
main90105-08291
9011906146
main90119-06146
9011906753
main90119-06753
9017906042
main90179-06042
9017906070
main90179-06070
9017906129
main90179-06129
9017906308
main90179-06308
9017908132
main90179-08132
9020909005
main90209-09005
9161160614
main91611-60614
9165140616
main91651-40616
9165160612
main91651-60612
9331914010
main93319-14010
31 parts on this diagram · 1 diagram in section