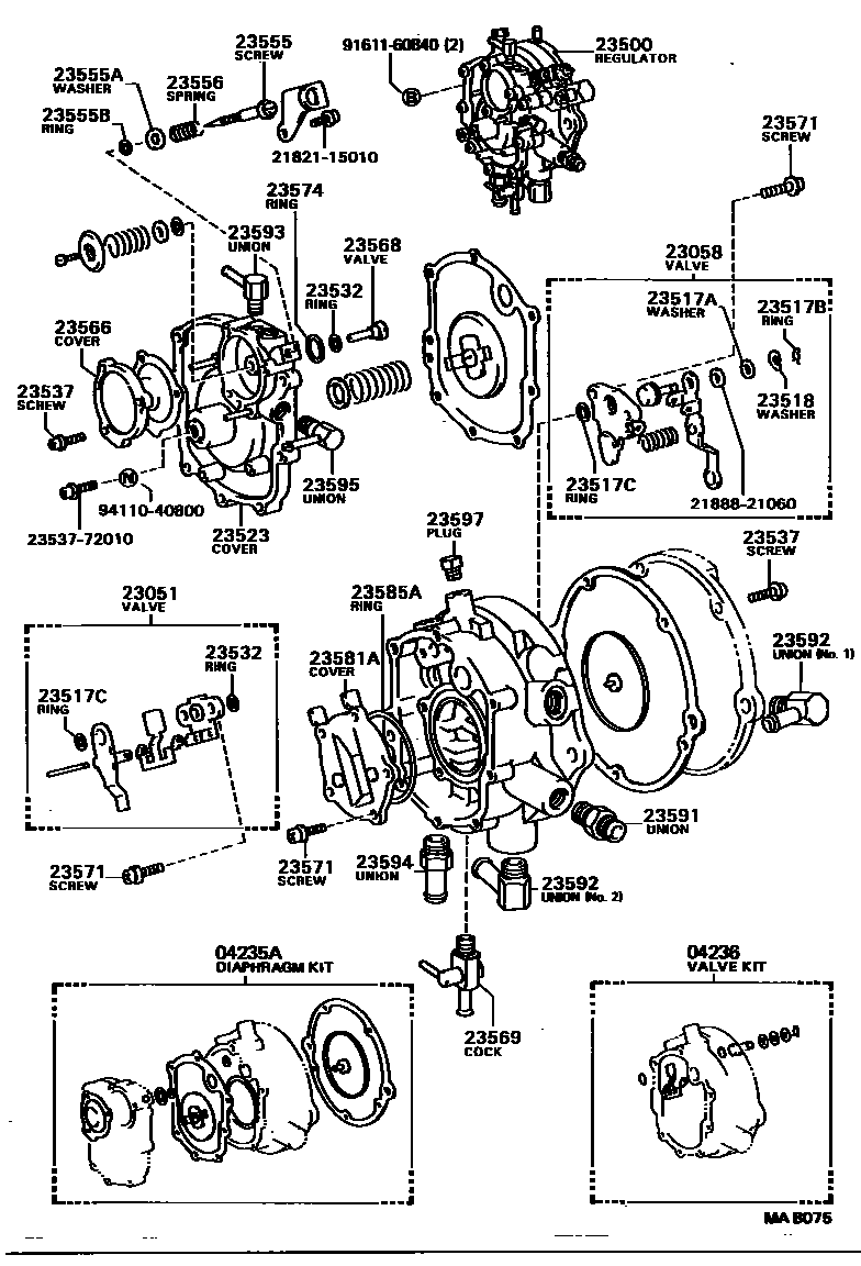
LPG OR CNG REGULATOR

04235ADIAPHRAGM KIT, LPG REGULATOR, W/O VALVE
04236VALVE KIT, LPG REGULATOR
23051VALVE SUB-ASSY, 1ST
23058VALVE SUB-ASSY, 2ND
23500REGULATOR ASSY, LPG(CNG)
23517AWASHER(FOR ELASTIC FACE VALVE SET)
23517BRING, SNAP(FOR ELASTIC FACE VALVE SET)
23517CGASKET(FOR ELASTIC FACE VALVE)
23518WASHER, WAVE(FOR ELASTIC FACE VALVE SET)
23523COVER, 1ST REGULATOR
23532RING, O, NO.2(FOR BULB)
23537SCREW(FOR 2ND REGULATOR COVER SET)
23555SCREW, IDLE ADJUST
sub23555-73130
23555AWASHER, IDLE ADJUST SCREW
23555BRING, O(FOR IDLE ADJUST SCREW)
23556SPRING, IDLE ADJUST SCREW
23566COVER(FOR VACUUM LOCK DIAPHRAGM)
23568VALVE(FOR VACUUM LOCK DIAPHRAGM)
23569COCK, DRAIN
23571SCREW(FOR VACUUM LOCK DIAPHRAGM RING SET)
23574RING, O, NO.1(FOR BULB)
23581ACOVER, UPPER PREHEATER
23585ARING, O(FOR PREHEATER)
23591UNION, NO.1, FUEL
23593UNION, NO.3
23594UNION, NO.4, WATER HOSE
23595UNION, NO.5
sub23591-41070
23597PLUG, LPG REGULATOR BODY
2182115010SCREW, 2ND THROTTLE VALVE SET
main21821-15010
2188821060WASHER(FOR POSITIONER VALVE SET)
main21888-21060
2353772010SCREW(FOR 2ND REGULATOR COVER SET)
main23537-72010
9161160840
main91611-60840
9411040800
main94110-40800
34 parts on this diagram · 1 diagram in section