E
EPC Data

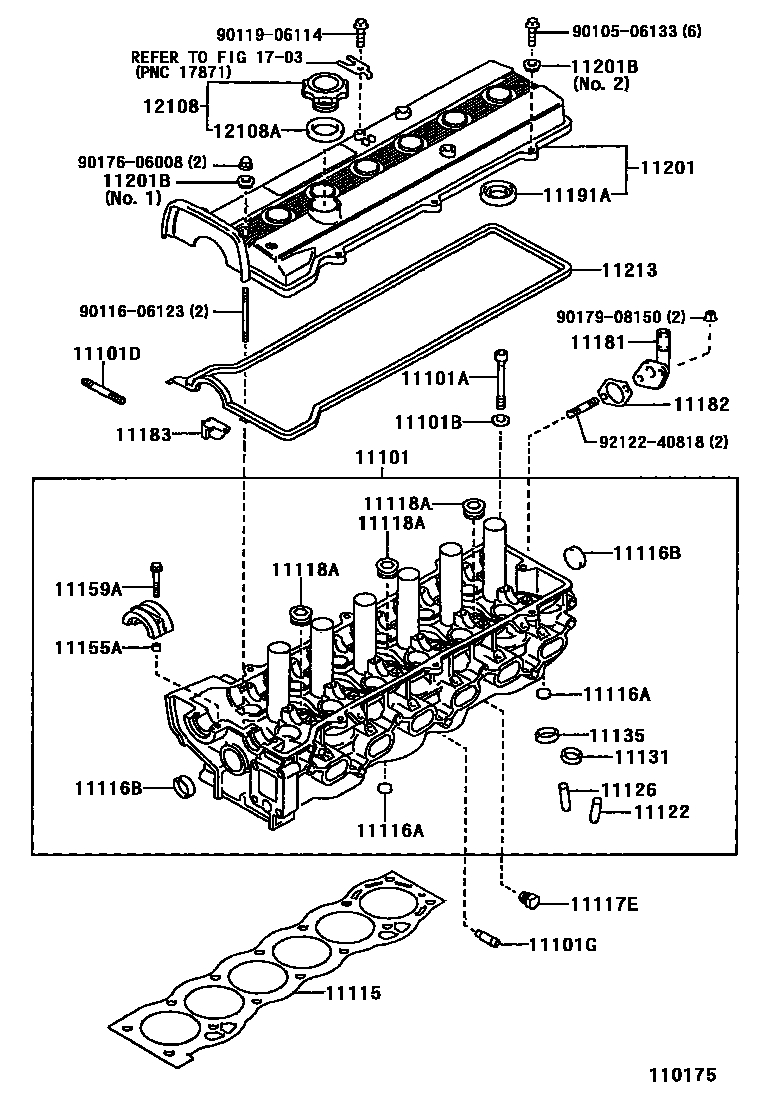
CYLINDER HEAD

Parts diagram
11101HEAD SUB-ASSY, CYLINDER
main11101-49375i199609-199707
main11101-49376i199707-200010
main11101-49395i199609-200010
main11101-54121i199609-199908
main11101-79045i199609-199808
main11101-79245i199808
main11101-88410i199609-200010
11101ABOLT(FOR CYLINDER HEAD SET)
main90110-10003i199609-199808
main90910-02080i199609-199908
main90910-02081i199609-199908
main90910-02102i199609-200010
main90910-02133i199808
11101BWASHER, PLATE(FOR CYLINDER HEAD SET)
main90201-10050i199609
main90201-11018i199609-200010
11101DBOLT, STUD(FOR WATER OUTLET)
main90116-08304i199609
main90116-08348i199609-200010
11101GUNION(FOR CYLINDER HEAD)
main90406-08011i199609-199808
main90406-17017i199609-200010
11115GASKET, CYLINDER HEAD
main11115-46044i199609-199902
main11115-46045i199902-200010
main11115-54084-B0i199609-199908
MARK B
main11115-54084-D0i199609-199908
MARK D
main11115-54084-F0i199609-199908
MARK F
main11115-70050i199609-199808
main11115-70060i199808-199812
main11115-70061i199812
main11115-88410i199609-200010
11116APLUG, TIGHT, NO.1
main96411-41800i199609
main96411-42000i199609-200010
11116BPLUG, TIGHT, NO.2
main96411-42500i199609-199805
main96411-43000i199609-199808
main96411-62500i199805-199808
11117EPLUG, W/HEAD STRAIGHT SCREW, NO.1
main90341-16094i199609-199808
main90341-18010i199609-200010
main90341-24010i199609-200010
11118APLUG, STRAIGHT, NO.1
main90341-27003i199609-199808
11122BUSH, INTAKE VALVE GUIDE
main11122-16010i199609-199808
main11122-21010i199808
main11122-54020i199609-199908
main11122-74030i199609-200010
main11122-88400i199609-200010
main11123-16010i199609-199808
main11123-21010i199808
main11123-54020i199609-199908
main11123-74030i199609-200010
main11123-88400i199609-200010
11126BUSH, EXHAUST VALVE GUIDE
main11122-16010i199609-200010
main11122-21010i199808
main11122-54020i199609-199908
main11122-88400i199609-200010
main11123-16010i199609-200010
main11123-21010i199808
main11123-54020i199609-199908
main11123-88400i199609-200010
main11126-70030i199609-199808
main11127-70030i199609-199808
11131SEAT, INTAKE VALVE
main11131-46020i199609-200010
main11131-46030i199609-200010
main11131-70020i199609-199808
main11131-70030i199808
main11132-46020i199609-200010
main11132-46030i199609-200010
main11132-70020i199609-199808
main11132-70030i199808
11135SEAT, EXHAUST VALVE
main11135-46020i199609-200010
main11135-46030i199609-200010
main11135-70021i199609-199808
main11135-70040i199808
main11136-46020i199609-200010
main11136-46030i199609-200010
main11136-70021i199609-199808
main11136-70040i199808
11155APIN, RING W/HEAD
main90253-10006i199609-199808
main90253-11021i199609-200010
11159ABOLT(FOR HEAD TO CAMSHAFT BEARING CAP)
main90105-06221i199808
main90105-07004i199808
main90105-07006i199808
main90105-08166i199609-199908
main90119-07009i199808
main90119-07009i199609-199808
main90119-08890i199609-200010
11181PLATE, CYLINDER HEAD, REAR
main11181-70022i199609-199808
main11181-70050i199808
11182GASKET, CYLINDER HEAD REAR PLATE
main11182-70021i199609
11183PLUG, SEMICIRCULAR
main11183-54020i199609-199908
main11183-70010i199609-199808
main11183-70020i199808
main11183-88400i199609-200010
11191AGASKET(FOR SPARK PLUG TUBE)
main11193-15010i199609-199808
main11193-70010i199808
11201COVER SUB-ASSY, CYLINDER HEAD
main11201-0W050i199609-199908
main11201-46062i199908-200001
main11201-46063i200001-200010
main11201-70051i199609-199808
main11201-70080i199808
main11201-88410i199609-200010
main11202-0W050i199609-199908
main11202-46032i199908-200001
main11202-46033i200001-200010
main11202-70030i199808
main11202-88410i199609-200010
main11210-05011i199808-199908
main11210-54041i199609-199704
main11210-54042i199704-199808
main11210-54042i199808-199908
11201BWASHER, SEAL(FOR CYLINDER HEAD COVER)
main90210-06014i199704
main90210-07001i199609-199704
main90210-07001i199609-199808
main90210-08020i199609-199808
11213GASKET, CYLINDER HEAD COVER
main11213-05010i199808-199908
main11213-46030i199609-200010
main11213-54050i199609-199808
main11213-54050i199808-199908
main11213-70020i199609-199808
main11213-70040i199808
main11213-88410i199609-200010
main11214-46011i199609-200010
main11214-88410i199609-200010
12108CAP SUB-ASSY, OIL FILLER
main12180-20030i199609-200010
main12180-55010i199609
main12180-70020i199609-199908
12108AGASKET(FOR OIL FILLER CAP)
main12195-20020i199609-200010
main12195-70010i199609-199908
main90430-37140i199609
1703
9010506133
9011606123
9011906114
9017606008
9017908150
9212240818

32 parts on this diagram · 5 diagrams in section

CYLINDER HEAD — Toyota Parts Diagram with OEM Numbers & Prices | EPC Data