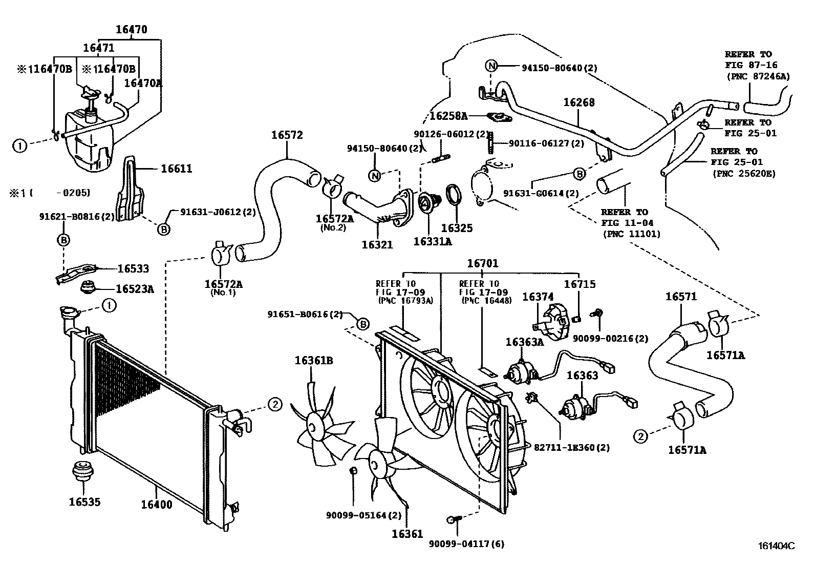
RADIATOR & WATER OUTLET

1104
16321INLET, WATER
16325GASKET, WATER INLET HOUSING, NO.1
16361FAN
16361BFAN, NO.2
16363MOTOR, COOLING FAN
16363AMOTOR, COOLING FAN, NO.2
16374INSULATOR, COOLING FAN MOTOR
16470TANK ASSY, RADIATOR RESERVE
16470AHOSE OR PIPE(FOR RADIATOR RESERVE TANK)
16470BCLAMP OR CLIP(FOR RADIATOR RESERVE TANK HOSE)
16471CAP SUB-ASSY, RESERVE TANK
16523ACUSHION, RADIATOR SUPPORT
16533SUPPORT, RADIATOR, UPPER
16535SUPPORT, RADIATOR, LOWER
16571HOSE, RADIATOR, INLET
16572HOSE, RADIATOR, OUTLET
16611BRACKET, RADIATOR RESERVE TANK
16701SHROUD SUB-ASSY, FAN
16715BRACKET, FAN SHROUD
1709
2501
8716
827111E360WIRE, FUSE TO FUSE(FOR COMBUSTION HEATER)
main82711-1E360
9009900216
main90099-00216
9009904117
main90099-04117
9009905164
main90099-05164
9011606127
main90116-06127
9012606012
main90126-06012
91621B0816
main91621-B0816
91631G0614
main91631-G0614
91631J0612
main91631-J0612
91651B0616
main91651-B0616
9415080640
main94150-80640
40 parts on this diagram · 8 diagrams in section