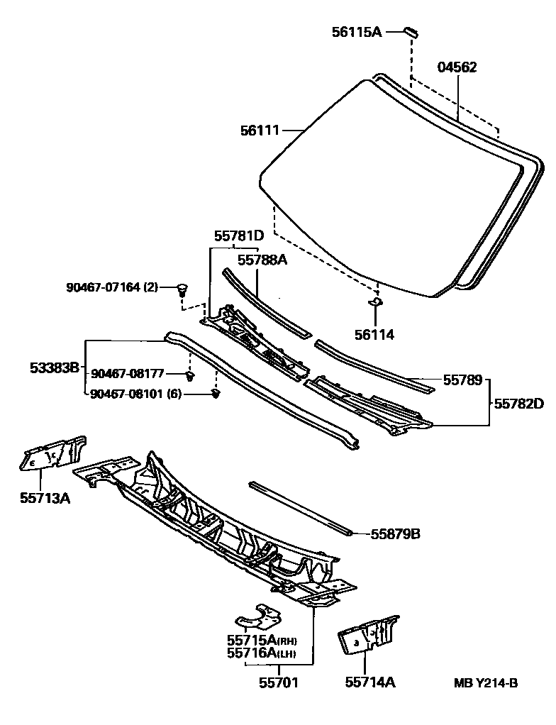
COWL PANEL & WINDSHIELD GLASS

04562DAM KIT, WINDSHIELD GLASS
53383BSEAL, HOOD TO COWL TOP
55713APANEL, COWL TOP SIDE, RH
55714APANEL, COWL TOP SIDE, LH
55715ABRACE, COWL TOP TO APRON, RH
55716ABRACE, COWL TOP TO APRON, LH
55788APROTECTOR, COWL TOP VENTILATOR LOUVER
55789SEAL, COWL TOP TO LOUVER
55879BSEAL, COWL VENT
56114RETAINER, WINDSHIELD GLASS
56115ASTOPPER, WINDSHIELD GLASS, NO.1
9046707164
main90467-07164
9046708101
main90467-08101
9046708177
main90467-08177
18 parts on this diagram · 1 diagram in section