SWITCH & RELAY & COMPUTER

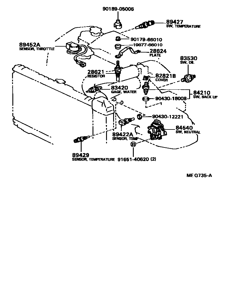
28621RESISTOR, GLOW PLUG
28624PLATE, CURRENT SENSOR
82821BCOVER, CONNECTOR
83530SWITCH ASSY, OIL PRESSURE (FOR ENGINE)
sub83530-30090
sub83530-30051
sub83530-60050
sub83530-60030
sub83530-60040
sub83530-60020
sub83530-60010
84210SWITCH ASSY, BACK-UP LAMP
sub84210-52050
89422ASENSOR, WATER TEMPERATURE
89427SWITCH, TEMPERATURE DETECT
89429SENSOR, OIL TEMPERATURE
89452ASENSOR, THROTTLE POSITION
1987766010
main19877-66010
9017966010
main90179-66010
9018905006
main90189-05006
9043012221
main90430-12221
9043018008
main90430-18008
9165140620
main91651-40620
17 parts on this diagram · 11 diagrams in section