E
EPC Data
Pricing
API Docs
Sign In
Home
›
JP
›
281140
›
VENTILATION HOSE
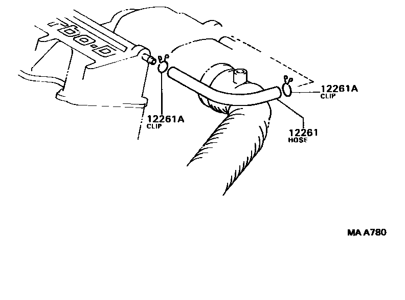
VENTILATION HOSE
0001 1
0002 1
0003 1
12261
HOSE, VENTILATION
main
12261-62020
i
1VZFE..VZV20
198808-199007
main
12261-64070
i
2CT..CV20
198808-199007
main
12261-74020
i
3SFE..SV21,25
198808-199007
main
12261-74040
i
4SFI..SV22
198808-199007
main
12261-88361
i
3SGE..SV21
198808-199007
12261A
CLIP OR CLAMP(FOR VENTILATION HOSE)
main
90467-15120
i
2CT..CV20
198808-199007
main
90467-17002
i
1VZFE..VZV20
198808-198905
sub
90467-17011
main
90467-17011
i
1VZFE..VZV20
198905-199007
sub
96134-51700
main
90467-17012
i
1VZFE..VZV20
198905-199007
main
90467-17126
i
1VZFE..VZV20
198808-198905
2 parts on this diagram · 3 diagrams in section
VENTILATION HOSE — Toyota Parts Diagram with OEM Numbers & Prices | EPC Data