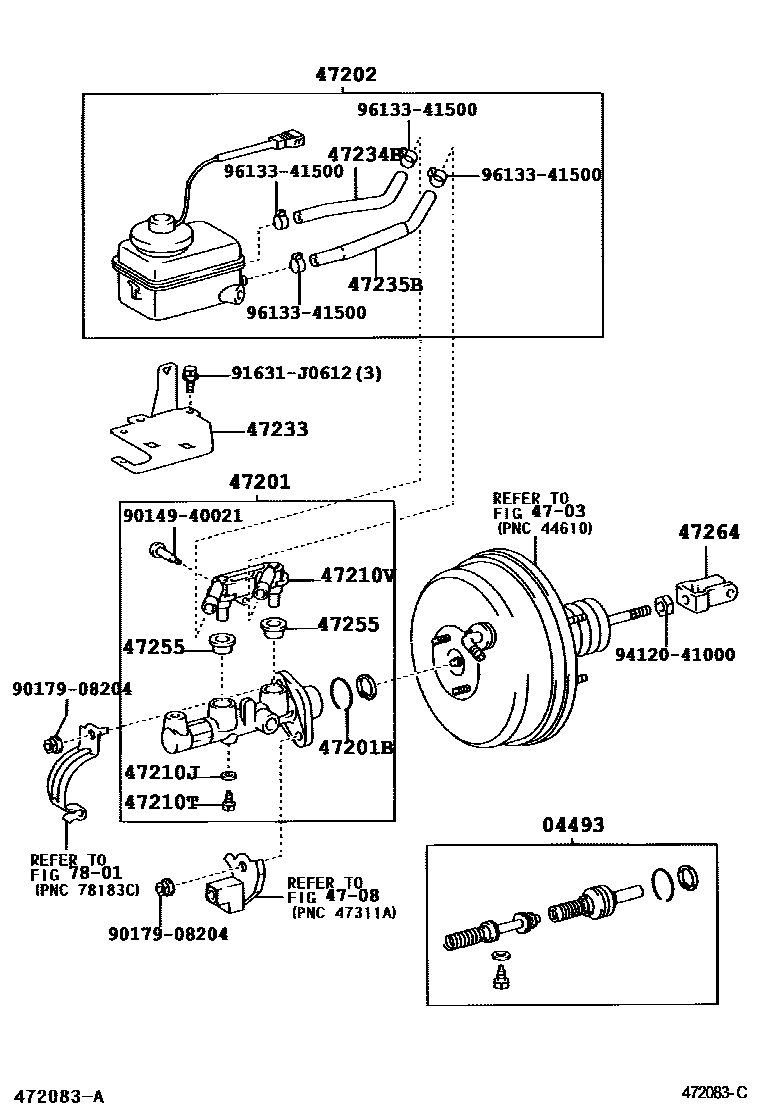
BRAKE MASTER CYLINDER

04493CYLINDER KIT, BRAKE MASTER
4703
4708
47201CYLINDER SUB-ASSY, BRAKE MASTER
47201BRING, O(FOR BRAKE MASTER CYLINDER)
47210JGASKET(FOR MASTER CYLINDER)
47210TBOLT(FOR BRAKE MASTER CYLINDER)
47210VUNION(FOR BRAKE MASTER CYLINDER)
47233BRACKET, RESERVOIR
47234BTUBE, RESERVOIR, NO.1
47235BTUBE, BRAKE MASTER CYRINDER RESERVOIR, NO.2
47255GROMMET, MASTER CYLINDER RESERVOIR
47264CLEVIS, MASTER CYLINDER PUSH ROD
7801
9014940021
main90149-40021
9017908204
main90179-08204
91631J0612
main91631-J0612
9412041000
main94120-41000
9613341500
main96133-41500
20 parts on this diagram · 2 diagrams in section