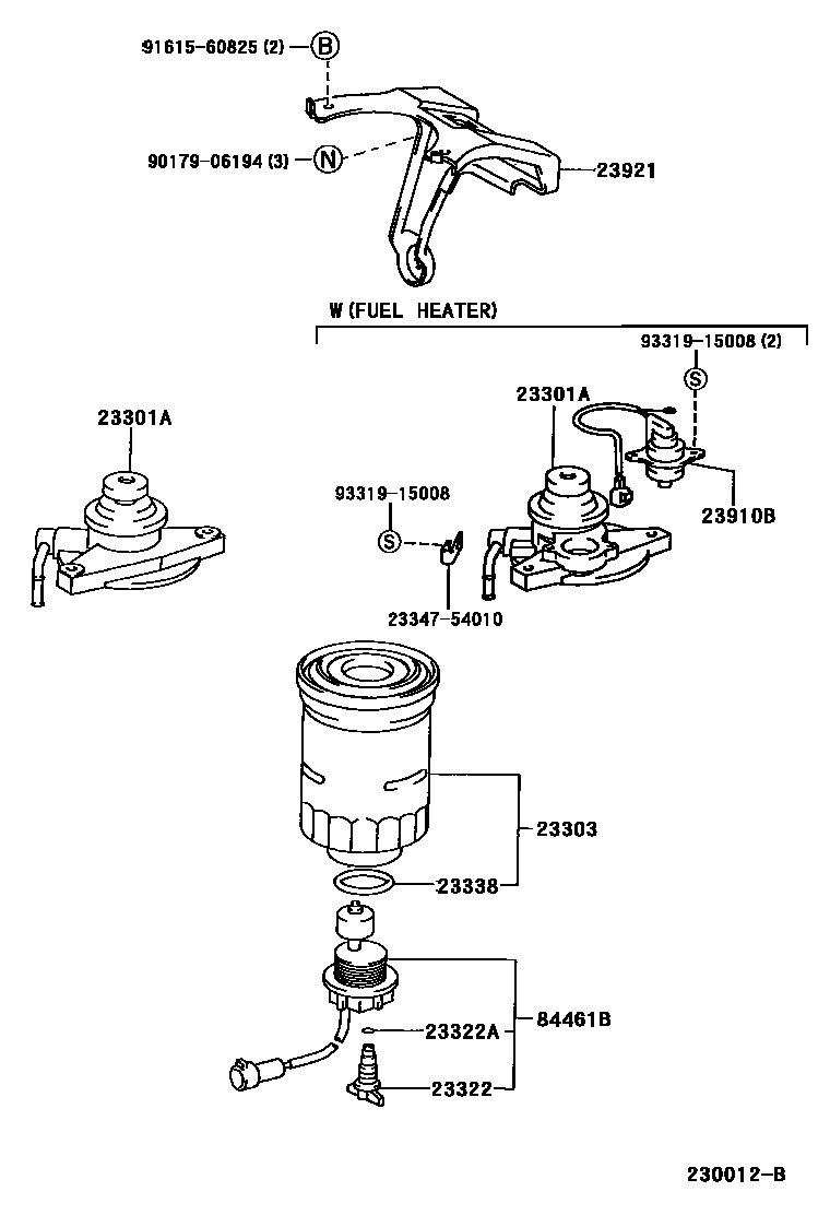
FUEL FILTER

23303ELEMENT SUB-ASSY, FUEL FILTER
sub23390-33030
23322PLUG, DRAIN(FOR FUEL FILTER)
23322ARING, O(FOR DRAIN PLUG)
23338GASKET(FOR WARNING SWITCH)
23910BHEATER ASSY, FUEL
23921SUPPORT, FUEL FILTER
84461BSWITCH, LEVEL WARNING
2334754010CLIP, CORD
main23347-54010
9017906194
main90179-06194
9161560825
main91615-60825
9331915008
main93319-15008
12 parts on this diagram · 1 diagram in section