BRAKE MASTER CYLINDER

4703
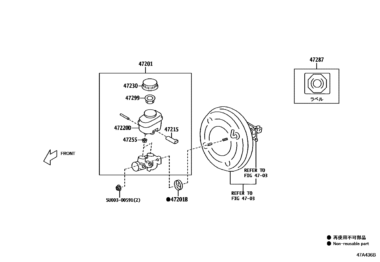
47201BRING, O(FOR BRAKE MASTER CYLINDER)
subSU003-12052
47215INDICATOR, BRAKE FLUID
47255GROMMET, MASTER CYLINDER RESERVOIR
47287LABEL, BRAKE FLUID INFORMATION
47299STRAINER, BRAKE MASTER CYLINDER RESERVOIR
SU00300591
mainSU003-00591
10 parts on this diagram · 1 diagram in section