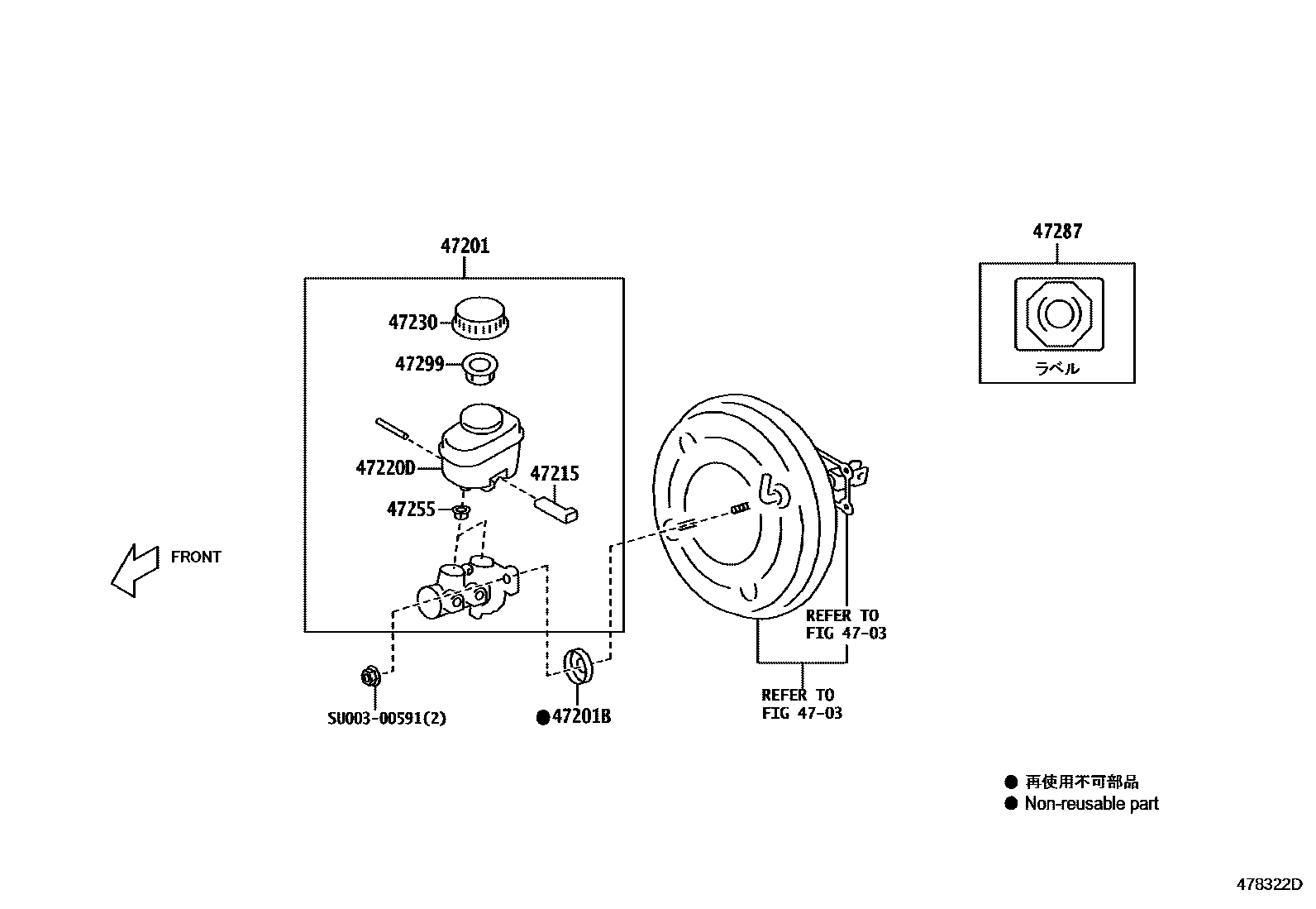
BRAKE MASTER CYLINDER

4703
47201CYLINDER SUB-ASSY, BRAKE MASTER
subSU003-10513
47201BRING, O(FOR BRAKE MASTER CYLINDER)
subSU003-12052
47215INDICATOR, BRAKE FLUID
47220DRESERVOIR ASSY, BRAKE MASTER CYLINDER
subSU003-10515
47230CAP ASSY, BRAKE MASTER CYLINDER RESERVOIR FILLER
subSU003-10494
47255GROMMET, MASTER CYLINDER RESERVOIR
47287LABEL, BRAKE FLUID INFORMATION
47299STRAINER, BRAKE MASTER CYLINDER RESERVOIR
SU00300591
mainSU003-00591
10 parts on this diagram · 1 diagram in section