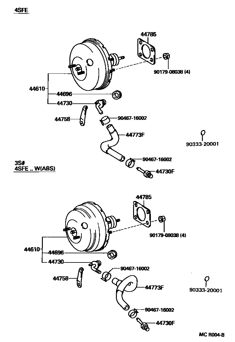
BRAKE BOOSTER & VACUUM TUBE

44610BOOSTER ASSY, BRAKE
44696GROMMET, CHECK VALVE
44730VALVE ASSY, VACUUM CHECK(FOR BRAKE)
44730FUNION, VACUUM HOSE(FOR MANIFOLD SIDE)
44773FHOSE, UNION TO CHECK VALVE
44785GASKET, BRAKE BOOSTER
9017908038
main90179-08038
9033320001
main90333-20001
9046716002
main90467-16002
10 parts on this diagram · 1 diagram in section