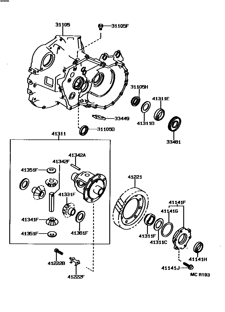
FRONT AXLE HOUSING & DIFFERENTIAL

31105DSEAL, OIL, NO.1(FOR FRONT TRANSAXLE CASE)
sub90311-30017
31105FPLUG(FOR TRANSAXLE CASE)
33449MAGNET, TRANSMISSION
33481GEAR, SPEEDOMETER DRIVE (MTM)
41141FRETAINER, FRONT DIFFERENTIAL SIDE BEARING
41141GRING, O(FOR FRONT DIFFERENTIAL SIDE BEARING RETAINER)
41221GEAR, FRONT DIFFERENTIAL RING
41222BBOLT (FOR FRONT DIFFERENTIAL RING GEAR SET)
41222FPLATE, FORNT DIFFERENTIAL RING GEAR SET BOLT LOCK
41311CSHIM (FOR FRONT DIFFERENTIAL CASE REAR)
41311DSHIM (FOR FRONT DIFFERENTIAL CASE FRONT)
41311EBEARING, TAPERED ROLLER (FOR FRONT DIFFERENTIAL CASE FRONT)
41331FGEAR, FRONT DIFFERENTIAL SIDE
41341FPINION, FRONT DIFFERENTIAL
41342APIN, STRAIGHT (FOR FRONT DIFFERENTIAL PINION SHAFT)
41351FWASHER, FRONT DIFFERENTIAL PINION THRUST
41361FWASHER, FRONT DIFFERENTIAL SIDE GEAR THRUST, NO.1
24 parts on this diagram · 7 diagrams in section