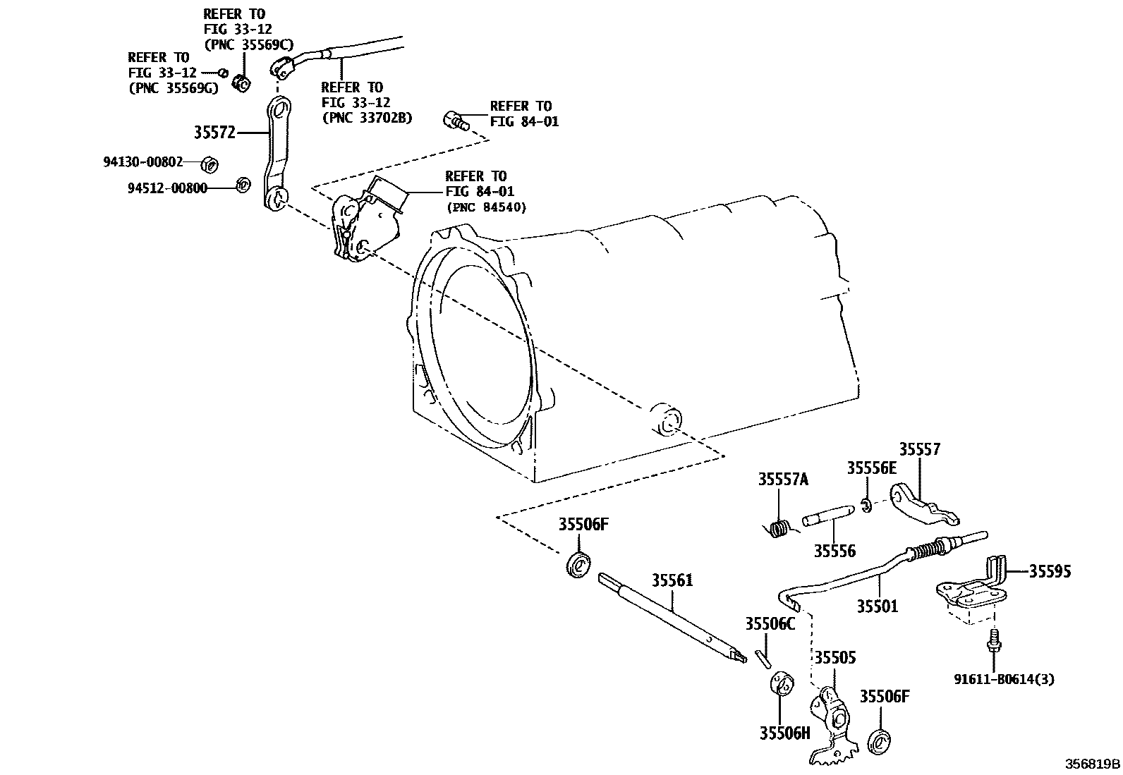
THROTTLE LINK & VALVE LEVER (ATM)

3312
35501ROD SUB-ASSY, PARKING LOCK
35505LEVER SUB-ASSY, MANUAL VALVE
35506CPIN, SLOTTED SPRING (FOR MANUAL VALVE LEVER SHAFT)
35506FSEAL, OIL (FOR MANUAL VALVE LEVER SHAFT)
35506HSPACER (FOR MANUAL VALVE LEVER SHAFT)
35556SHAFT, PARKING LOCK PAWL
35556ERING, E (FOR PARKING LOCK PAWL SHAFT)
35557ASPRING, TORSION (FOR PARKING LOCK PAWL)
35561SHAFT, MANUAL VALVE LEVER
35572LEVER, TRANSMISSION CONTROL SHAFT, RH
35595BRACKET, PARKING LOCK PAWL
8401
91611B0614
main91611-B0614
9413000802
main94130-00802
9451200800
main94512-00800
17 parts on this diagram · 2 diagrams in section