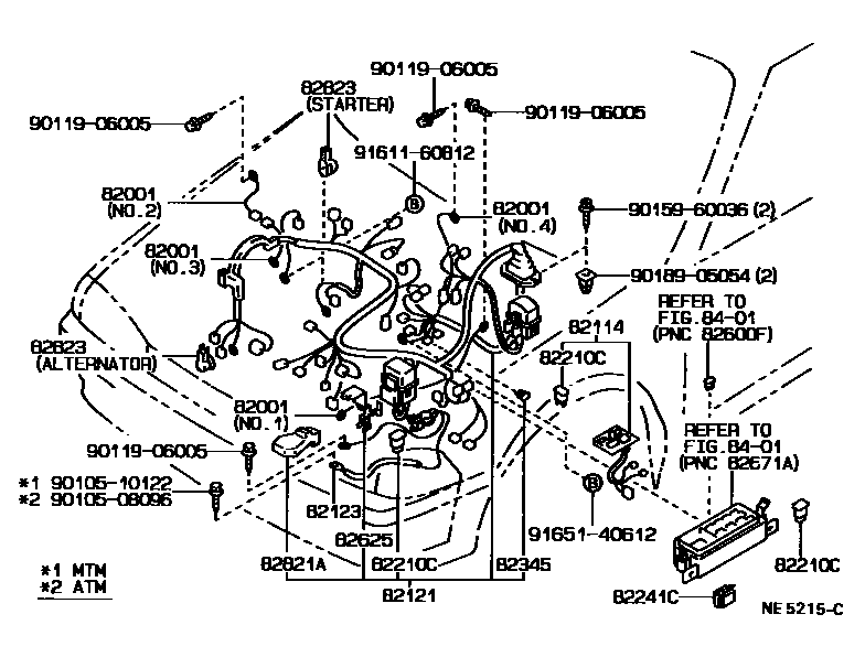
WIRING & CLAMP

82001CABLE, BOND, NO.1
82114WIRE, ENGINE ROOM, NO.4
J/B NO.5
J/B NO.5
R/B NO.6
J/B NO.5
R/B NO.6
J/B NO.5
J/B NO.5
R/B NO.6
82123WIRE, ENGINE, NO.3
82241CWIRE, RELAY
82625TERMINAL, FUSIBLE LINK
82821ACOVER, CONNECTOR
82823CAP, TERMINAL, NO.1
STARTER
ALTERNATOR
8401
9010508096
main90105-08096
9010510122
main90105-10122
9011906005
main90119-06005
9011906006
main90119-06006
9015960036
main90159-60036
9018905054
main90189-05054
9161160812
main91611-60812
9165140612
main91651-40612
19 parts on this diagram · 17 diagrams in section