E
EPC Data
Pricing
API Docs
Sign In
Home
›
JP
›
224130
›
BATTERY & BATTERY CABLE
BATTERY & BATTERY CABLE
0001 112V BATTERY
0002 1HV BATTERY (1/2)
0003 1HV BATTERY (2/2)
0004 1SOLAR BATTERY
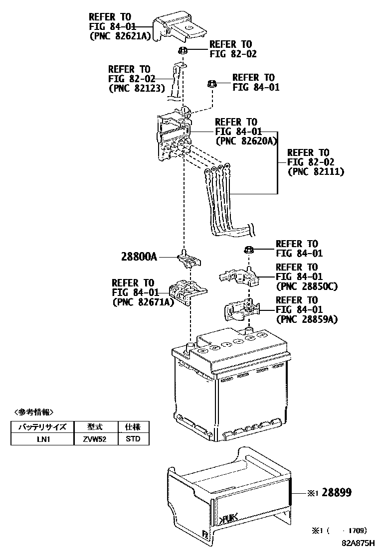
28800A
TERMINAL, BATTERY POSITIVE
main
90982-05061
i
2ZRFXE..ZVW52..CBU
201609-201904
28899
INSULATOR, BATTERY
main
28899-37060
i
2ZRFXE..ZVW52..CBU
201609-201709
8202
8401
4 parts on this diagram · 4 diagrams in section
BATTERY & BATTERY CABLE — Toyota Parts Diagram with OEM Numbers & Prices | EPC Data