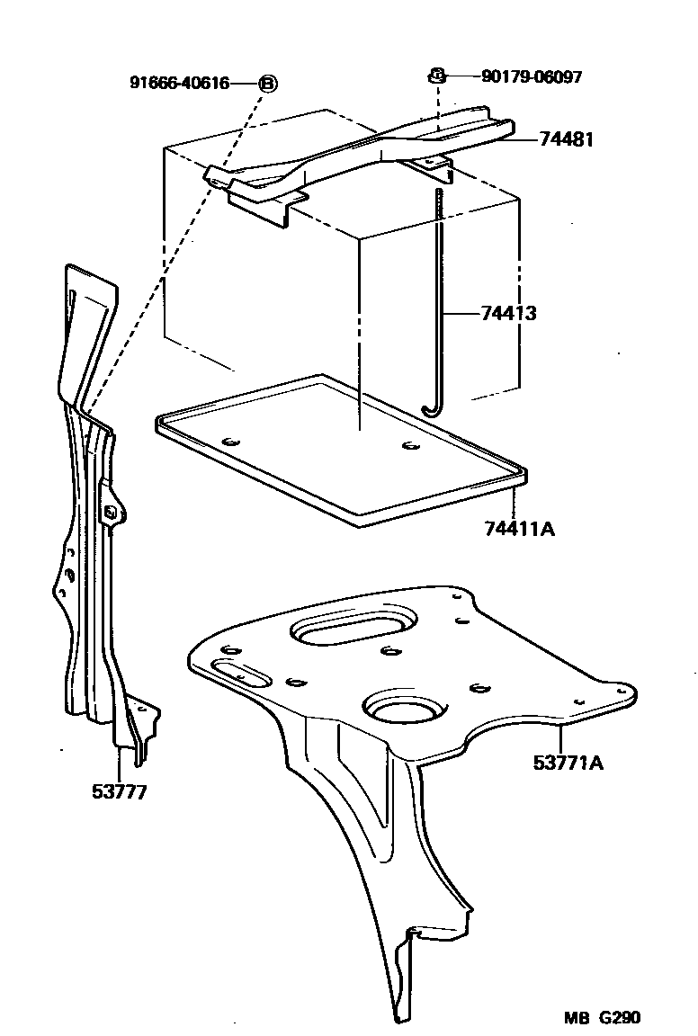
BATTERY CARRIER

53771ASUPPORT, BATTERY CARRIER
53777SUPPORT, BATTERY CARRIER, NO.2
74411ATRAY, BATTERY
W/NS60L
W/46B24L
W/34B19L
W/NS40ZAL
74413BOLT, BATTERY CLAMP
74481CLAMP, BATTERY HOLD DOWN
W/39B19L
W/46B24L
9017906097
main90179-06097
9166640616
main91666-40616
7 parts on this diagram · 2 diagrams in section