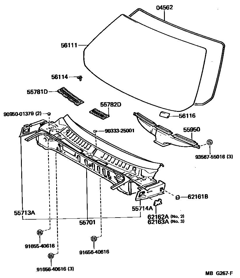
COWL PANEL & WINDSHIELD GLASS

04562DAM KIT, WINDSHIELD GLASS
55701PANEL SUB-ASSY, COWL
55713APANEL, COWL TOP SIDE, RH
55714APANEL, COWL TOP SIDE, LH
55781DLOUVER, COWL TOP VENTILATOR, RH
55782DLOUVER, COWL TOP VENTILATOR, LH
55950NOZZLE ASSY, DEFROSTER
56114RETAINER, WINDSHIELD GLASS
56116SPACER, WINDSHIELD GLASS
62161BCOVER, COWL SIDE PANEL SERVICE HOLE
62162ACOVER, COWL SIDE PANEL HOLE, NO.2
62163ACOVER, COWL SIDE PANEL HOLE, NO.3
9033325001
main90333-25001
9095001379
main90950-01379
9165540616
main91655-40616
9165640616
main91656-40616
9356755016
main93567-55016
18 parts on this diagram · 1 diagram in section