E
EPC Data

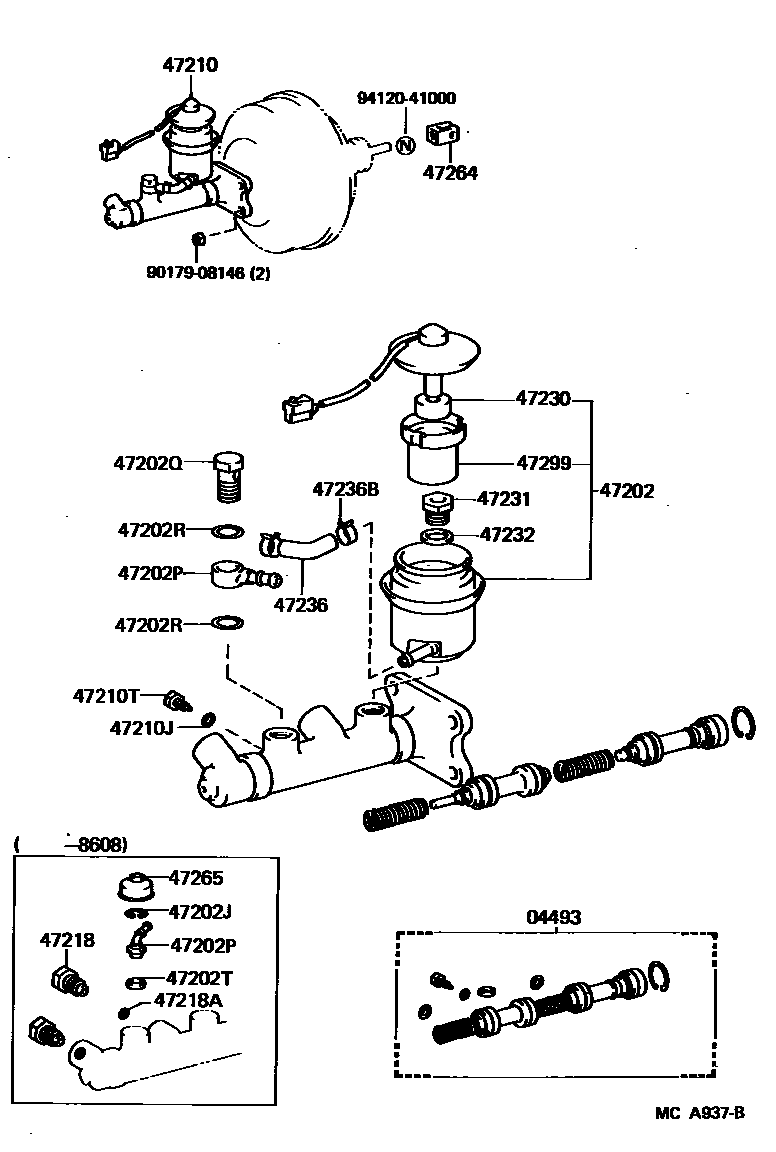
BRAKE MASTER CYLINDER

Parts diagram
04493CYLINDER KIT, BRAKE MASTER
main04493-17010i198406-198608
main04493-17020i198608-198912
47202RESERVOIR SUB-ASSY, BRAKE MASTER CYLINDER
main47202-17010i198406-198608
main47202-17020i198608-198912
47202JRING, SNAP(FOR BRAKE MASTER CYLINDER SIDE)
main96151-02000i198406-198608
47202PUNION, RESERVOIR(FOR BRAKE MASTER CYLINDER SIDE)
main90405-10003i198608-198912
main90407-10003i198406-198608
47202QBOLT, RESERVOIR UNION(FOR BRAKE MASTER CYLINDER SIDE)
main90401-16002i198608-198912
47202RGASKET, RESERVOIR UNION(FOR BRAKE MASTER CYLINDER SIDE)
main90430-16242i198608-198912
47202TRING(FOR BRAKE MASTER CYLINDER RESERVOIR, NO.1)
main90301-14001i198406-198608
47210CYLINDER ASSY, MASTER, W/O BOOSTER
main47201-17010i198406-198608
main47201-17030i198608-198912
47210JGASKET(FOR MASTER CYLINDER)
main90430-06104i198406-198912
47210TBOLT(FOR BRAKE MASTER CYLINDER)
main90109-06008i198406-198912
47218PLUG, MASTER CYLINDER FLUID OUTLET
main47218-12040i198406-198608
47218AGASKET(FOR FLUID OUTLET PLUG)
main90430-09253i198406-198608
47230CAP ASSY, BRAKE MASTER CYLINDER RESERVOIR FILLER
main84460-20051i198406-198912
47231BOLT, BRAKE MASTER CYLINDER RESERVOIR SET
main47231-30010i198406-198912
47232WASHER, BRAKE RESERVOIR SET BOLT
main47232-30010i198406-198912
47236TUBE, RESERVOIR BRAKE
main47234-14010i198406-198912
47236BCLAMP(FOR RESERVOIR TUBE)
main90467-16001i198406-198912
47264CLEVIS, MASTER CYLINDER PUSH ROD
main47264-10080i198406-198912
main47264-17010i198608-198912
47265BOOT, MASTER CYLINDER
main47265-20060i198406-198608
47299STRAINER, BRAKE MASTER CYLINDER RESERVOIR
main47299-14010i198406-198912
9017908146
9412041000

22 parts on this diagram · 1 diagram in section

BRAKE MASTER CYLINDER — Toyota Parts Diagram with OEM Numbers & Prices | EPC Data